EasyManua.ls Logo

Electrolux EOB53000 - Usage, Tables and Tips; Baking Guidelines

Electrolux EOB53000
60 pages
Print Icon
To Next Page IconTo Next Page
To Next Page IconTo Next Page
To Previous Page IconTo Previous Page
To Previous Page IconTo Previous Page
Loading...
usage, tables and tips electrolux 23
Usage, Tables and Tips
Baking
Oven function: Convection with ring
heating element
Baking tins
For Convection with ring heating
element bright metal tins are suit-
able.
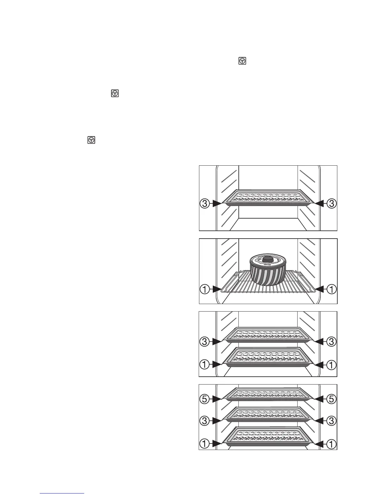
Oven levels
With Convection with ring heating
element you can bake on up to 3
baking trays at the same time:
1 baking tray:
for example, oven level 3
1 baking tin:
for example, oven level 1
2 baking trays:
for example, oven level 1 and 3
3 baking trays:
oven level 1, 3 and 5

Related product manuals