EasyManua.ls Logo

Electrolux EOC5400AOX - Pyrolysis; Cleaning the oven door

Electrolux EOC5400AOX
32 pages
Print Icon
To Next Page IconTo Next Page
To Next Page IconTo Next Page
To Previous Page IconTo Previous Page
To Previous Page IconTo Previous Page
Loading...
WARNING!
The appliance becomes very
hot. There is a risk of burns.
CAUTION!
If there are other appliances
installed in the same
cabinet, do not use them at
the same time as the
Pyrolysis function. It can
cause damage to the
appliance.
1. Remove the worst dirt manually.
2. Clean the inner side of the door with
hot water, so that the residues do not
burn from the hot air.
3. Set the Pyrolysis function. Refer to
"Oven functions".
4. When flashes, press or to
set the necessary procedure:
Option Description
P1 If the oven is
not very
dirty. Time of
the proce‐
dure: 1 h 30
min.
P2 If you cannot
easily re‐
move the
dirt. Time of
the proce‐
dure: 2 h.
After 2 seconds the procedure starts.
You can use the End function to delay
the start of the cleaning procedure.
During the Pyrolysis the oven lamp is off.
5. When the oven is at its set
temperature, the door locks. The
display shows the symbol and the
bars of the heat indicator until the
door unlocks.
To stop Pyrolysis before it is
completed, turn the knob for the oven
functions to the off position.
6. When Pyrolysis is completed, the
display shows the time of day. The
oven door stays locked.
7. When the appliance is cool again, an
acoustic signal sounds and the door
unlocks.
10.5 Cleaning reminder
To remind you that the Pyrolysis is
necessary, PYR flashes in the display for
10 seconds after each activation and
deactivation of the appliance.
The cleaning reminder
goes out:
after the end of the
Pyrolysis function.
if you press and at
the same time while PYR
flashes in the display.
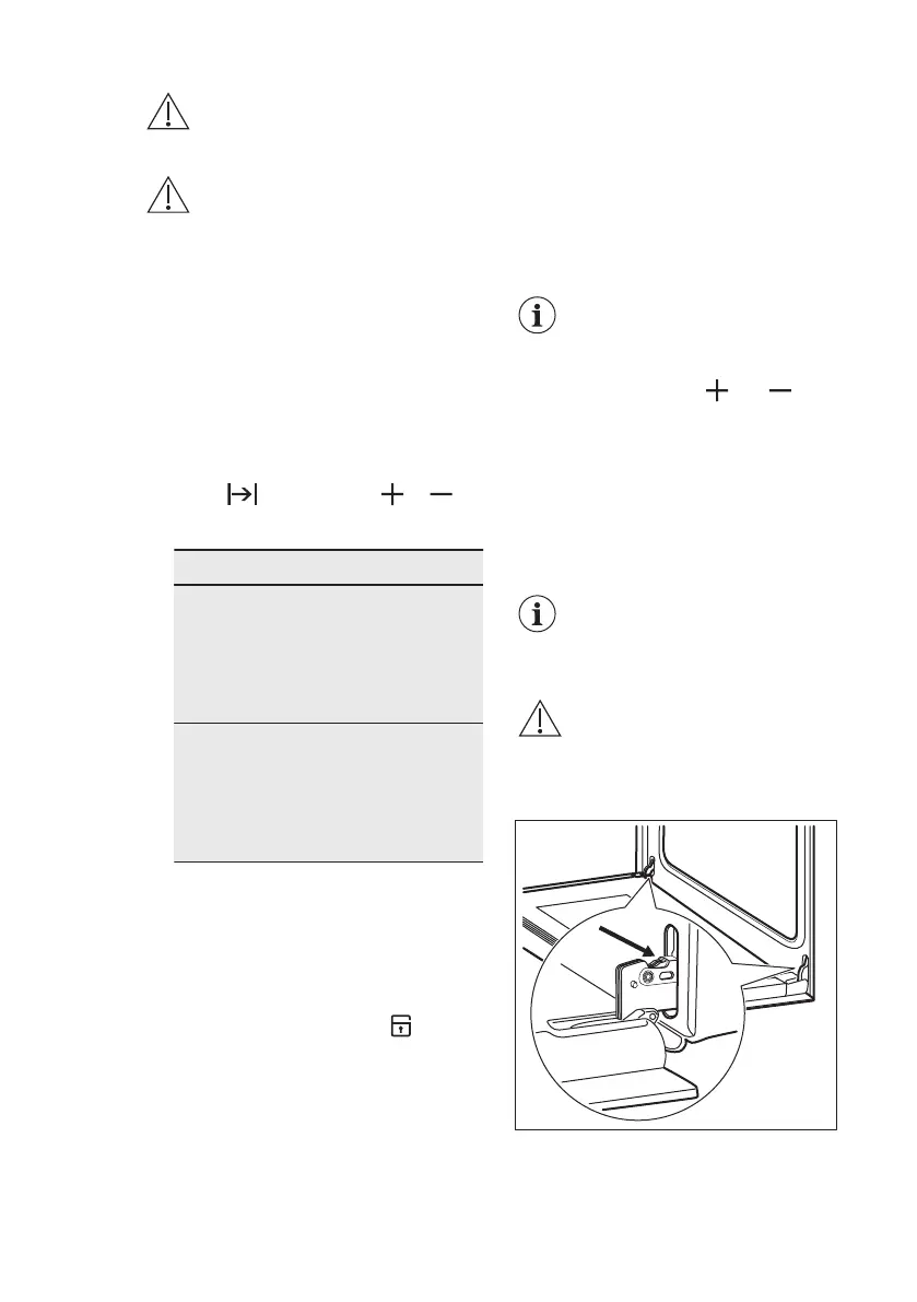
10.6 Cleaning the oven door
The oven door has four glass panels.
You can remove the oven door and the
internal glass panels to clean them.
The oven door can close if
you try to remove the glass
panels before you remove
the oven door.
CAUTION!
Do not use the appliance
without the glass panels.
1. Open the door fully and hold the two
door hinges.
2. Lift and turn the levers on the two
hinges.
ENGLISH 23

Related product manuals