EasyManua.ls Logo

Electrolux EOU43003X - Baking Instructions; Baking Levels and Tins; General Baking Tips

Electrolux EOU43003X
24 pages
Print Icon
To Next Page IconTo Next Page
To Next Page IconTo Next Page
To Previous Page IconTo Previous Page
To Previous Page IconTo Previous Page
Loading...
The oven switches on automatically at the
time calculated.
And switches itself off again when the
cooking time entered has elapsed.
Baking
Oven levels
Baking with Conventional Cooking is only
possible on one level.
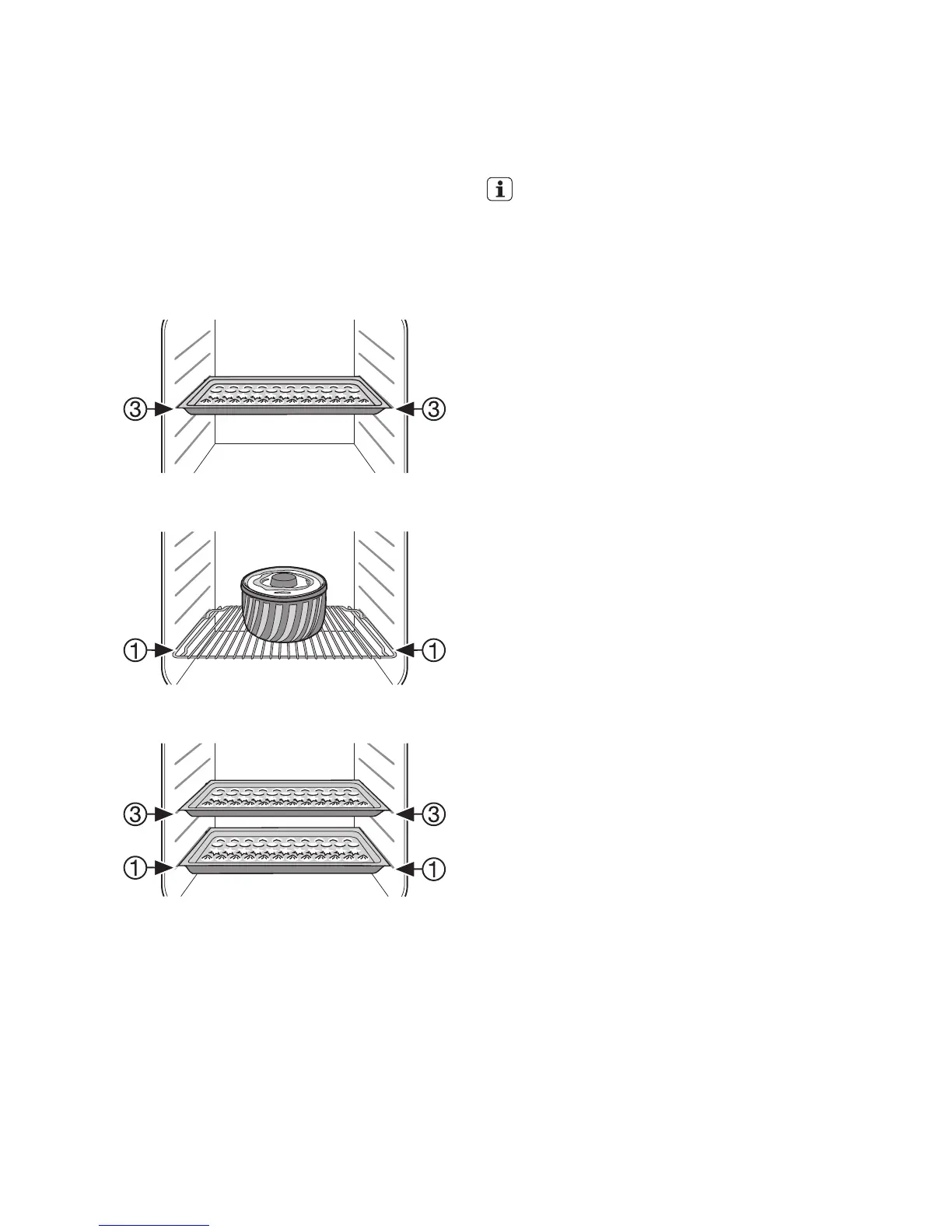
When baking with Fan Cooking one to two
baking trays can be put into the bottom
oven at the same time:
1 tray, e.g. oven level 3
1 cake in cake tin, e.g. oven level 1
2 tray, e.g. oven levels 1 and 3
Baking tins
Baking tins made from dark-coloured met-
al with Teflon coating are suitable for bak-
ing using Conventional Cooking.
For baking using the Fan Cooking function,
baking tins made of shiny light-coloured
metal are suitable.
General instructions
Insert the tray with the bevel at the front.
When baking using Conventional Cooking
and Fan Cooking , you can also place two
baking trays next to one another on one
level. This does not significantly affect the
baking time.
When frozen items are placed on baking
trays, they can buckle during cooking.
This happens due to the large difference
in temperature between the frozen item
and the oven. After cooling, the buckling
in the trays disappears.
How to use the Baking Tables
The tables give the required temperature
settings, cooking times and oven levels for
a selection of typical dishes.
Temperatures and baking times are for
guidance only, as these will depend on the
consistency of pastry, dough or mixture,
the amount and the type of baking tin.
We recommend setting the oven to a lower
temperature for the first time and only set-
ting a higher temperature when required,
e.g. if you require more browning or if the
baking is taking too long.
If you cannot find the settings for a certain
recipe, look for similar items.
The baking time can be 10-15 minutes
longer when baking cakes on trays or in
tins on multiple levels.
Recipes with moist ingredients such as
pizzas or fruit flans are to be baked on one
level.
Cakes and pastries at different heights
may brown at an uneven rate at first. You
should not change the temperature setting
if this occurs. Different rates of browning
even out as baking progresses.
Baking and roasting times could differ from
those of your previous oven. For this rea-
son you should adjust the settings you
usually use (temperature, cooking times,
etc.) and oven levels to the recommenda-
tions provided in the following tables.
Roasting
Ovenware for roasting
Any heat-resistant ovenware is suitable to
use for roasting. (Please follow the manu-
facturer's instructions.)
You can place large roasts directly in the
roasting tray or on the shelf with the
roasting tray underneath.
8 electrolux

Related product manuals