EasyManua.ls Logo

Electrolux EQE6870 - Dispenser Operation Tips and Cleaning

Electrolux EQE6870
28 pages
Print Icon
To Next Page IconTo Next Page
To Next Page IconTo Next Page
To Previous Page IconTo Previous Page
To Previous Page IconTo Previous Page
Loading...
16 www.electrolux.com
Ice maker/dispenser tips
If your refrigerator is not connected to a
water supply or the water supply is turned off,
turn off the ice maker as d escribed in
the previous section.
The following sounds are normal when the
ice maker is operating:
- Motor running
- Ice dropping into ice bin
- Water valve opening or closing
- Running water
If you need a large quantity of ice at one
time, it is best to get cubes directly from the
ice bin.
Ice cubes stored too long may develop an
odd flavor. Empty the ice bin as explained
below.
When dispensing cubed ice, it is normal to
have a small quantity of little pieces along
with the whole cubes.
To avoid splashing, dispense ice into your
container before adding liquids.
It is normal for ice to fill to the top of the ice
bin.
CAUTION
If the water supply to your refrigerator is
softened, be sure the softener is properly main-
tained. Chemicals from a water softener can
damage the ice maker.
Cleaning the ice maker
Clean the ice maker and ice bin at regular
intervals, especially prior to vacation or moving.
1. Turn off the icemaker.
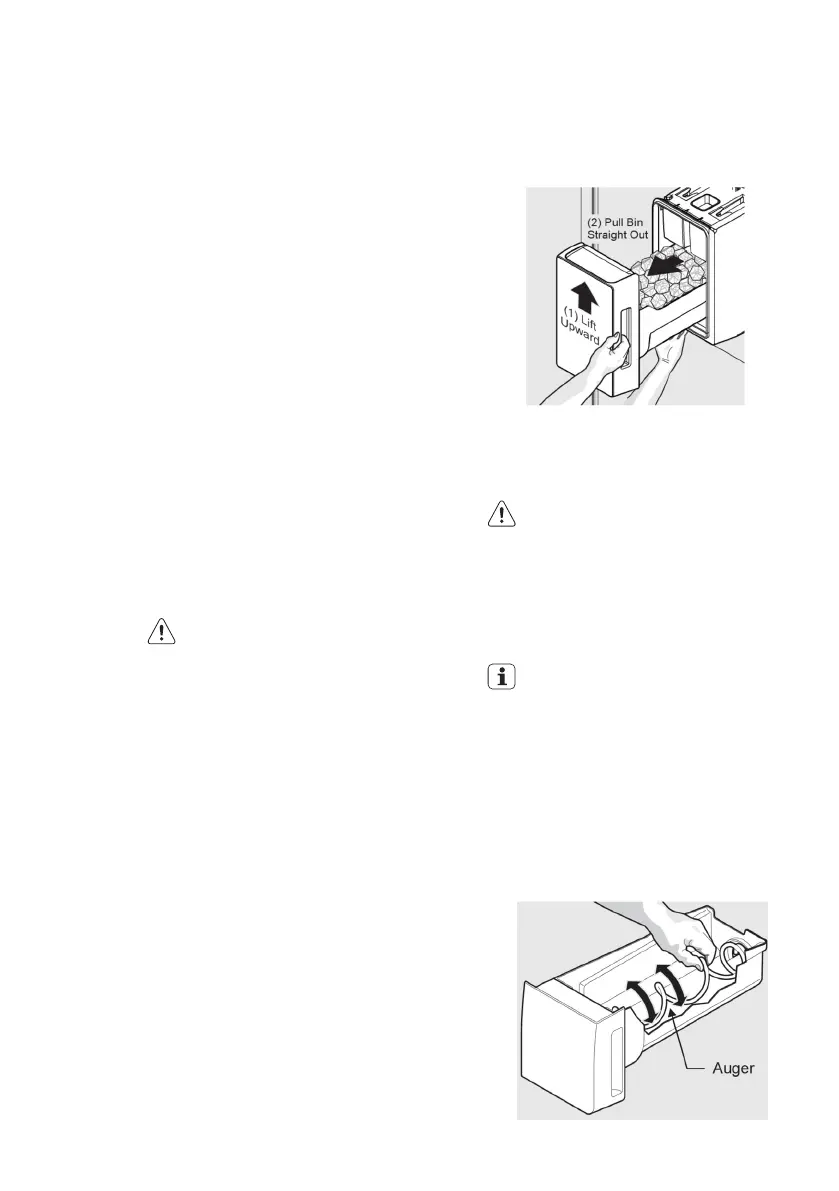
2. Remove the ice bin by pulling straight out.
3. Empty and carefully clean the ice bin with
mild detergent. Do not use harsh or abrasive
cleaners. Do not place in dishwasher. Rinse
with clear water.
4. Allow the ice bin to dry completely before
placing it back into the freezer.
5. Place ice bin back into position. Turn the ice
maker on.
Remove and empty the ice bin if:
An extended power failure (one hour or
longer) causes ice cubes in the ice bin to
melt and refreeze together after power is
restored, jamming the dispenser mechanism.
You do not use the ice dispenser frequently.
Ice cubes will freeze together in the bin,
jamming the dispenser mechanism.
Removing Ice Bin
Remove the ice bin and shake to loosen the
cubes or clean as explained above.
CAUTION
NEVER use an ice pick or similar sharp instru-
ment to break up the ice. This could damage
the ice bin and dispenser mechanism.
To loosen stuck ice, use warm water. Before
replacing the ice bin, make sure it is completely
dry.
IMPORTANT
When removing or replacing the ice bin, avoid
rotating the auger in the ice bin. If the auger is
accidentally rotated, you must realign the au-
ger by turning it in 45 degree turns (see below)
until the ice bin fits into place with the drive
mechanism. If the auger is not properly aligned
when replacing the ice bin, the refrigerator will
not dispense ice. The fresh food door also
may not close properly causing warm air to
leak into the fresh food compartment.
Adjusting the Ice Bin Auger

Related product manuals