EasyManua.ls Logo

Electrolux ERF3869SOW - Fonctionnement; Mise Au Rebut; Bandeau de Commande

Electrolux ERF3869SOW
Print Icon
To Next Page IconTo Next Page
To Next Page IconTo Next Page
To Previous Page IconTo Previous Page
To Previous Page IconTo Previous Page
Loading...
effectués par un professionnel
qualifié.
Examinez régulièrement l'écoulement
de l'appareil et si nécessaire,
nettoyez-le. Si l'orifice est bouché,
l'eau provenant du dégivrage
s'écoulera en bas de l'appareil.
2.5 Mise au rebut
AVERTISSEMENT!
Risque de blessure ou
d'asphyxie.
Débranchez l'appareil de
l'alimentation électrique.
Coupez le câble d'alimentation et
mettez-le au rebut.
Retirez la porte pour empêcher les
enfants et les animaux de s'enfermer
dans l'appareil.
Le circuit frigorifique et les matériaux
d'isolation de cet appareil préservent
la couche d'ozone.
La mousse isolante contient un gaz
inflammable. Contactez votre service
municipal pour obtenir des
informations sur la marche à suivre
pour mettre l'appareil au rebut.
N'endommagez pas la partie du
circuit de réfrigération située à
proximité du condenseur thermique.
3. FONCTIONNEMENT
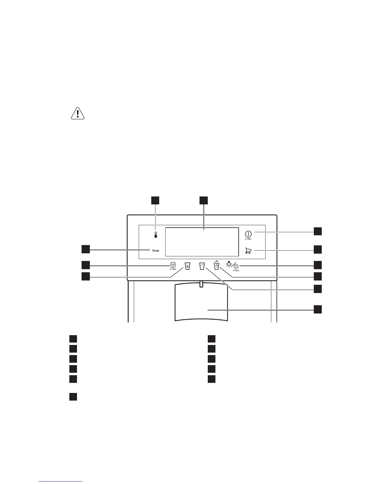
3.1 Bandeau de commande
1 2
3
4
5
6
10
11
9
7
8
1
Touche de température
2
Affichage
3
ON/OFF
4
Touche Shopping
5
Touche réinitialisation d'éclairage/du
filtre
6
Eau très gazeuse
7
Eau peu gazeuse
8
Levier du distributeur
9
Eau plate froide
10
Touche ChildLock
11
Mode
Pour augmenter le volume de la tonalité
des touches, appuyez simultanément sur
la touche Mode et la touche de
température pendant quelques
secondes. Ce changement est
réversible.
FRANÇAIS 49

Related product manuals