EasyManua.ls Logo

Electrolux ERT1661AOX2 - Conseils Utiles

Electrolux ERT1661AOX2
Print Icon
To Next Page IconTo Next Page
To Next Page IconTo Next Page
To Previous Page IconTo Previous Page
To Previous Page IconTo Previous Page
Loading...
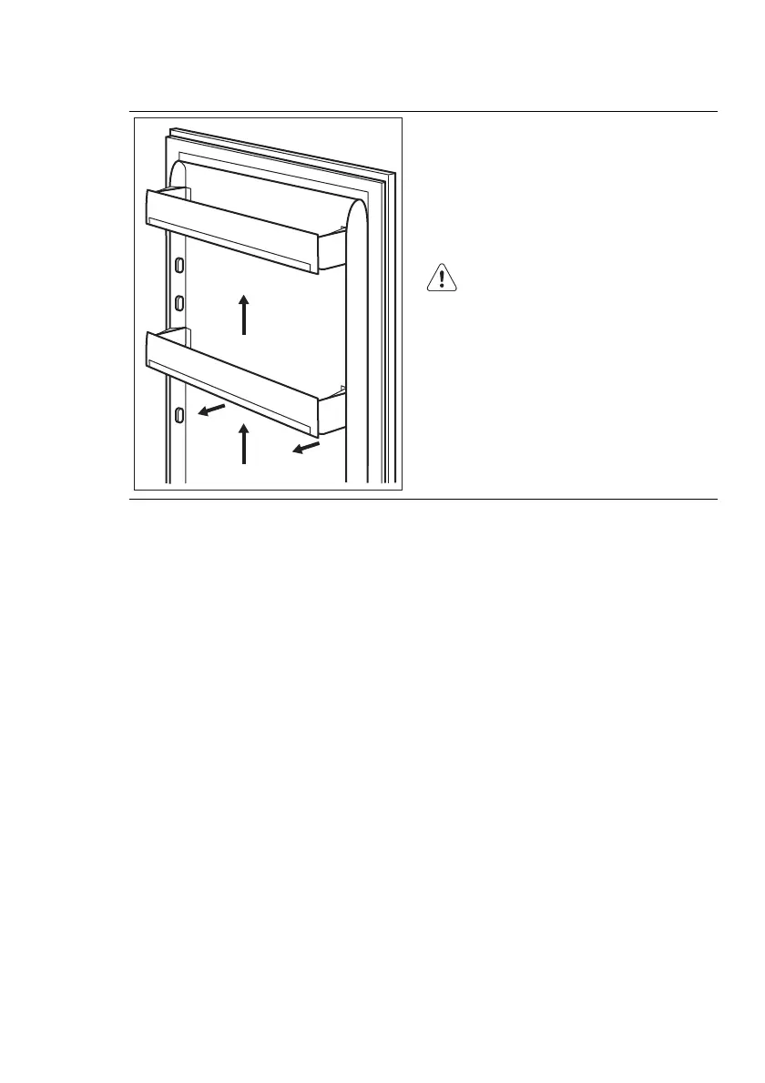
4.3 Mise en place des balconnets de la porte
1
2
En fonction de la taille des emballages
des aliments conservés, les balconnets
de la porte peuvent être positionnés à dif-
férentes hauteurs.
Pour les ajuster, procédez comme suit :
tirez progressivement sur le balconnet
dans le sens des flèches pour le dégager,
puis repositionnez-le selon vos besoins.
Ne déplacez pas le balconnet in-
férieur, afin de garantir une circu-
lation d’air optimale.
5. CONSEILS UTILES
5.1 Bruits de fonctionnement
normaux
Le liquide de refroidissement qui passe
dans le circuit d'évaporation peut pro-
duire un bruit de gargouillis ou de bouil-
lonnement. Ce phénomène est normal.
Le compresseur peut produire un ron-
ronnement aigu ou un bruit de pulsa-
tion. Ce phénomène est normal.
La dilatation thermique peut provoquer
un soudain, léger bruit de craquement.
C'est un phénomène normal et sans
gravité. Ce phénomène est normal.
Un léger claquement se produit lors de
la mise en fonctionnement/à l'arrêt du
compresseur. Ce phénomène est nor-
mal.
5.2 Conseils pour l'économie
d'énergie
N'ouvrez pas la porte trop souvent ou
plus longtemps que nécessaire.
Si la température ambiante est élevée,
le dispositif de réglage de température
est sur la position de froid maximum et
l'appareil est plein : il est possible que
le compresseur fonctionne en régime
continu, d'où un risque de formation
excessive de givre sur l'évaporateur.
Pour éviter ceci, modifiez la position du
dispositif de réglage de température de
façon à obtenir des périodes d'arrêt du
compresseur et ainsi permettre un dé-
givrage automatique, d'où des écono-
mies d'énergie.
5.3 Conseils pour la réfrigération
de denrées fraîches
Pour obtenir les meilleures performances
possibles :
N'introduisez pas d'aliments encore
chauds ou de liquides en évaporation
dans le réfrigérateur.
Couvrez ou enveloppez soigneusement
les aliments, surtout s'ils sont aromati-
ques.
38
www.electrolux.com

Related product manuals