EasyManua.ls Logo

Electrolux ERT1661AOX2 - Nuttige Aanwijzingen en Tips

Electrolux ERT1661AOX2
Print Icon
To Next Page IconTo Next Page
To Next Page IconTo Next Page
To Previous Page IconTo Previous Page
To Previous Page IconTo Previous Page
Loading...
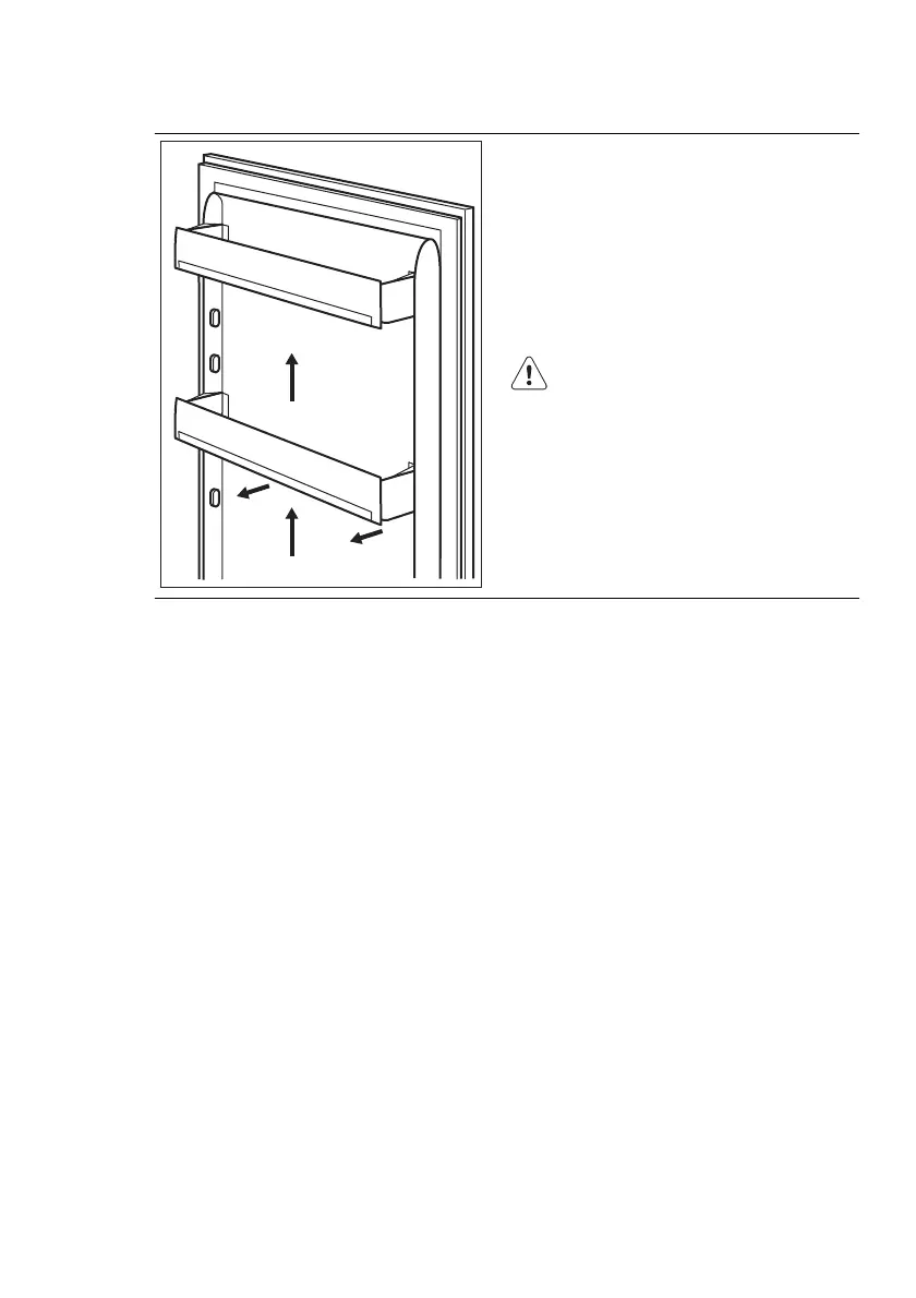
4.3 Het plaatsen van de deurplateaus
1
2
Om het bewaren van voedselverpakkin-
gen van verschillende afmetingen mogelijk
te maken, kunnen de schappen op ver-
schillende hoogtes worden geplaatst.
Om deze aanpassingen uit te voeren,
gaat u als volgt te werk:
trek het schap geleidelijk in de richting van
de pijlen totdat het los komt en plaats het
schap op een andere gewenste hoogte
terug.
Verwijder het onderste deurschap
niet om een goede luchtcirculatie
te garanderen.
5. NUTTIGE AANWIJZINGEN EN TIPS
5.1 Normale bedrijfsgeluiden
U kunt een zwak gorgelend en borre-
lend geluid horen wanneer het koelmid-
del door leidingen wordt gepompt. Dat
is normaal.
Als de compressor aan staat, wordt het
koelmiddel rondgepompt en dan zult u
een zoemend en kloppend geluid van
de compressor horen. Dat is normaal.
De thermische uitzetting kan een plot-
seling krakend geluid veroorzaken. Dit
is een natuurlijk, niet gevaarlijk fysisch
verschijnsel. Dat is normaal.
Als de compressor in- of uitgeschakeld
wordt, zult u een zacht "klikje" van de
thermostaat horen. Dat is normaal.
5.2 Tips voor energiebesparing
De deur niet vaker openen of open la-
ten staan dan strikt noodzakelijk.
Als de omgevingstemperatuur hoog is,
de thermostaatknop op een lage tem-
peratuur staat en het apparaat volledig
gevuld is, kan de compressor continu
aan staan waardoor er ijs op de ver-
damper ontstaat. Als dit gebeurt, zet u
de thermostaatknop naar een warmere
instelling om de koelkast automatisch
te laten ontdooien en zo elektriciteits-
verbruik te besparen.
5.3 Tips voor het koelen van
vers voedsel
Om de beste prestatie te verkrijgen:
Zet geen warm voedsel of verdampen-
de vloeistoffen in de koelkast
dek het voedsel af of verpak het, in het
bijzonder als het een sterke geur heeft
plaats het voedsel zodanig dat de lucht
er vrijelijk omheen kan circuleren
5.4 Nuttige tips voor het koelen
Nuttige tips:
Vlees (alle soorten) in plastic zakken ver-
pakken en op het glazen schap leggen,
boven de groentelade.
NEDERLANDS 7

Related product manuals