EasyManua.ls Logo

Electrolux ESF 63021 - Electrical Connection Safety

Electrolux ESF 63021
20 pages
Print Icon
To Next Page IconTo Next Page
To Next Page IconTo Next Page
To Previous Page IconTo Previous Page
To Previous Page IconTo Previous Page
Loading...
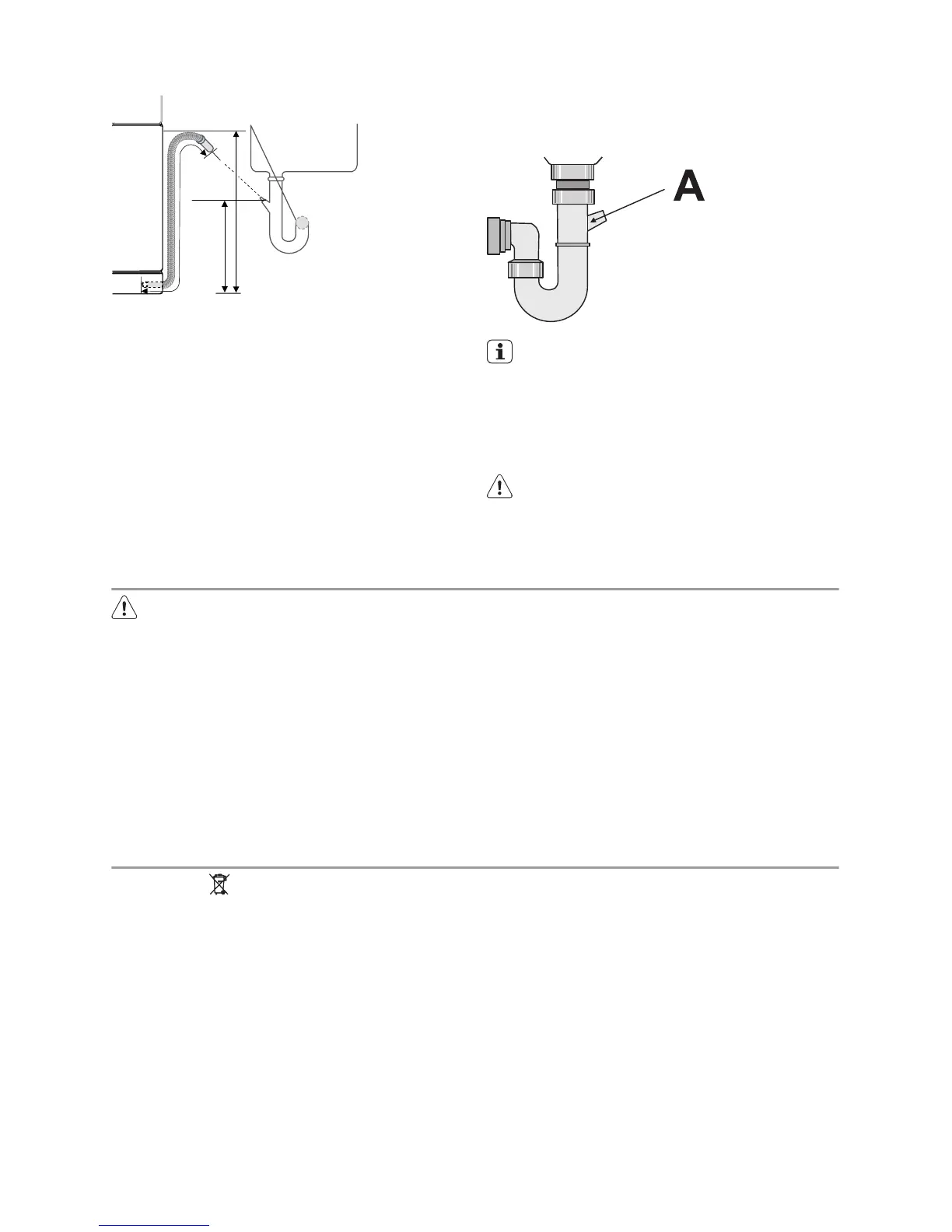
max 85 cm
min 40 cm
max 400 cm
Make sure that the drain hose is not bent or
squashed to prevent that the water drains
does not drain correctly.
Remove the sink plug when the appliance
drains the water to prevent that the water
goes back into the appliance.
A drain hose extension must not be longer
than 2 m. The internal diameter must not be
smaller than the diameter of the hose.
If you connect the water drain hose to a
trap spigot under the sink, remove the plas-
tic membrane (A). If you do not remove the
membrane, remaining food can cause a
blockage in the drain hose spigot
The appliance has a security feature to
prevent that dirty water goes back into
the appliance. If, the spigot of the sink
has a 'non-return valve', this valve can
cause the appliance to drain incorrect-
ly. Remove the non-return valve.
Caution! Make sure that the water
couplings are tight to prevent water
leakage.
ELECTRICAL CONNECTION
Warning! The manufacturer is not
responsible if you do not follow these
safety precautions.
This appliance needs to be earthed ac-
cording to safety precautions.
Make sure that the rated voltage and
type of power on the rating plate agree
with the voltage and the power of the
local power supply.
Always use a correctly installed shock-
proof socket.
Do not use multi-way plugs, connec-
tors and extension cables. There is a
risk of fire.
Do not replace the mains cable your-
self. Contact the Service Force Centre.
Make sure that the mains plug is ac-
cessible after installation.
Do not pull the mains cable to discon-
nect the appliance. Always pull the
mains plug.
ENVIRONMENT CONCERNS
The symbol on the product or on its
packaging indicates that this product may
not be treated as household waste. Instead
it should be taken to the appropriate
collection point for the recycling of electrical
and electronic equipment. By ensuring this
product is disposed of correctly, you will
help prevent potential negative
consequences for the environment and
human health, which could otherwise be
caused by inappropriate waste handling of
this product. For more detailed information
about recycling of this product, please
contact your local council, your household
waste disposal service or the shop where
you purchased the product.
The packaging materials are environmental-
ly friendly and can be recycled. The plastic
components are identified by markings, e.g.
>PE<, >PS<, etc. Discard the packaging
materials in the applicable container at the
community waste disposal facilities.
electrolux 17

Related product manuals