EasyManua.ls Logo

Electrolux ESF9516LOX - Product Description

Electrolux ESF9516LOX
28 pages
Print Icon
To Next Page IconTo Next Page
To Next Page IconTo Next Page
To Previous Page IconTo Previous Page
To Previous Page IconTo Previous Page
Loading...
displays, pressure switches,
thermostats and sensors, software
and firmware including reset software.
Please note that some of these spare
parts are only available to
professional repairers, and that not all
spare parts are relevant for all
models.
The following spare parts will be
available for 10 years after the model
has been discontinued: door hinge
and seals, other seals, spray arms,
drain filters, interior racks and plastic
peripherals such as baskets and lids.
2.7 Disposal
WARNING!
Risk of injury or suffocation.
Disconnect the appliance from the
mains supply.
Cut off the mains cable and discard it.
Remove the door catch to prevent
children and pets to get closed in the
appliance.
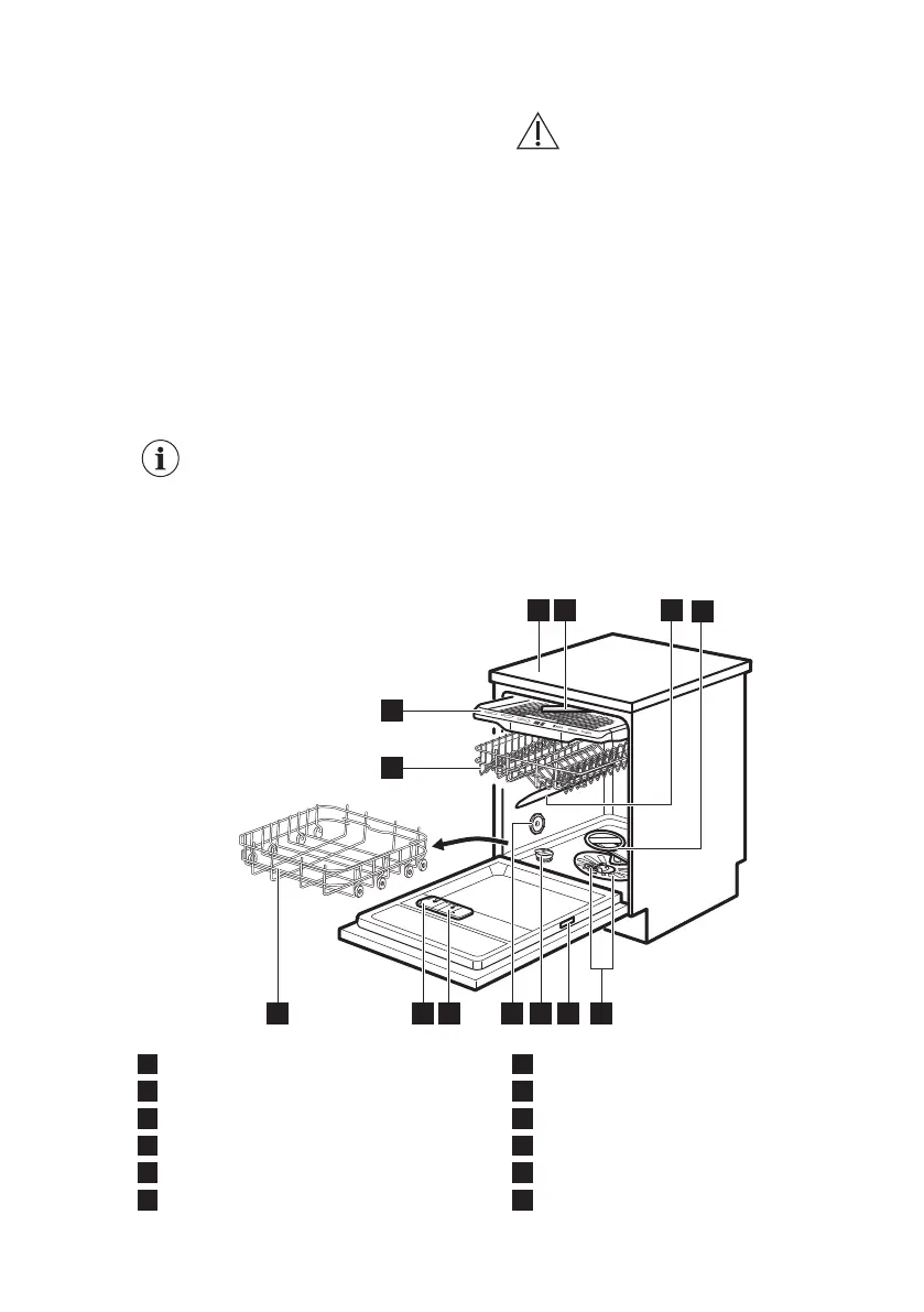
3. PRODUCT DESCRIPTION
The graphics below is just a
general product overview.
For more detailed
information, refer to other
chapters and/or documents
provided with the appliance.
6
5
9
10
11
78
12
13
3
4
1 2
1
Worktop
2
Ceiling spray arm
3
Upper spray arm
4
Lower spray arm
5
Filters
6
Rating plate
7
Salt container
8
Air vent
9
Rinse aid dispenser
10
Detergent dispenser
11
Lower basket
12
Upper basket
www.electrolux.com6

Related product manuals