EasyManua.ls Logo

Electrolux EUC1WS - Electrical Connections; Connections Provided for Energy Control; Safety Devices; Detergent;Rinse Aid Dispensers and Prearrangements

Electrolux EUC1WS
32 pages
Print Icon
To Next Page IconTo Next Page
To Next Page IconTo Next Page
To Previous Page IconTo Previous Page
To Previous Page IconTo Previous Page
Loading...
20
FF..88 EElleeccttrriiccaall ccoonnnneeccttiioonnss
WWAARRNNIINNGG
Work on the electrical
systems must only be
carried out by a qualified
electrician.
Connection to the power supply must be carried out in
compliance with the regulations and provisions in force in
the country of use.
Make sure the machine power supply voltage specified on
the rating plate matches the mains voltage.
Make sure the system power supply is arranged and able
to take the actual current load and that it is executed in a
workmanlike manner according to the regulations in force
in the country of use.
The earth wire from the terminal board side must be longer
(max 20 mm) than the phase wires.
Connect the power cable earth wire to an efficient earth.
The equipment must also be included in an equipotential
system, whose connection is made by means of screw EQ
(see par.
Installation diagram
) indicated by the symbol .
The equipotential wire must have a section of at least 10
mm
2
.
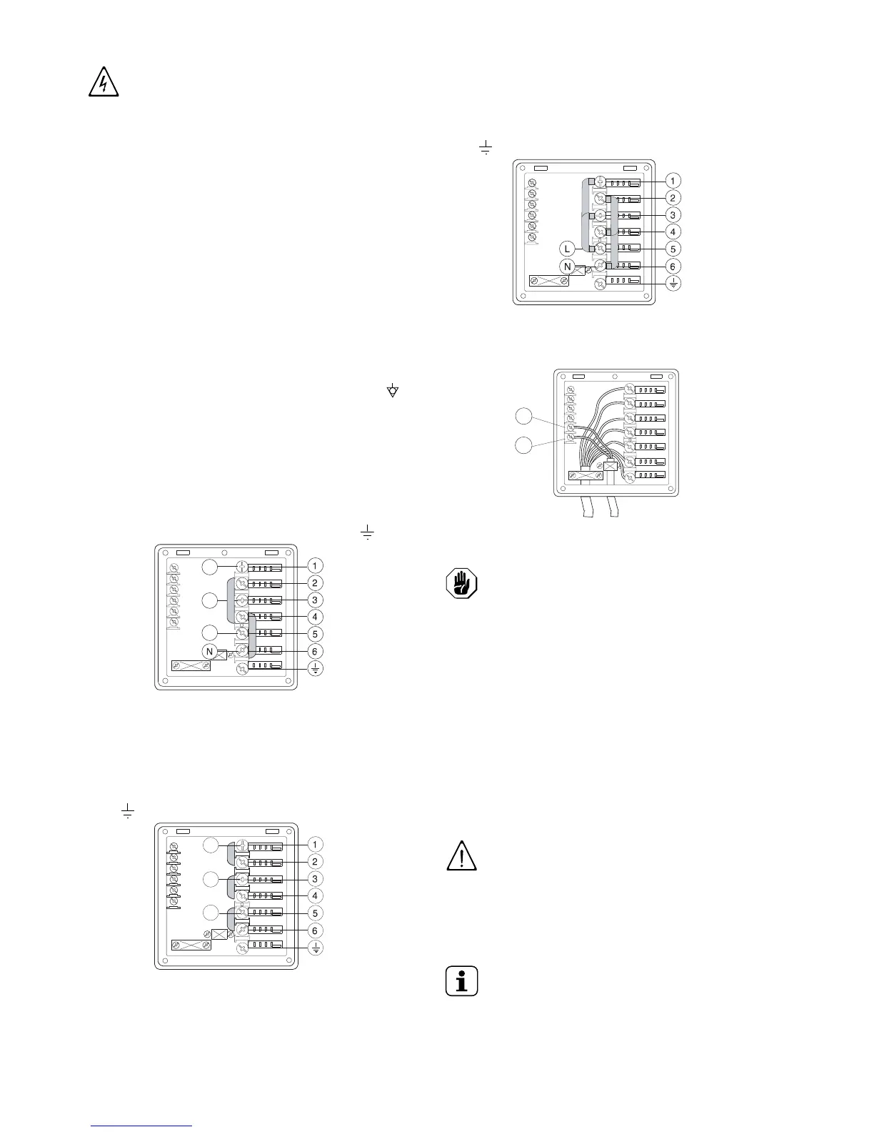
PPoowweerr ssuuppppllyy 440000 -- 441155VV 33NN
Open the power supply terminal board and insert the jumpers
provided as follows: one jumper between terminals 2 and 4
and another between terminals 4 and 6. Using a suitable
power supply cable (see D.1
Main technical characteristics
table), connect the three phases to terminals 1, 3 and 5, the
neutral to terminal 6 and the earth wire to the terminal .
PPoowweerr ssuuppppllyy 222200 -- 223300VV 33
Open the power supply terminal board and insert the jumpers
provided as follows: one jumper between terminals 1 and 2,
one between terminals 3 and 4 and another between
terminals 5 and 6. Using a suitable power supply cable (see
D.1
Main technical characteristics
table) connect the three
phases to terminals 1, 3 and 5 and the earth wire to the
terminal .
PPoowweerr ssuuppppllyy 222200 -- 223300VV 11NN
Open the power supply terminal board and insert the jumpers
provided as follows: two jumpers between terminals 1, 3, 5
and another two between terminals 2, 4 and 6. Using a
suitable power supply cable (see D.1
Main technical
characteristics
table), connect the phase and neutral to
terminals 5 and 6 respectively and the earth wire to the
terminal .
FF..88..11 CCoonnnneeccttiioonnss pprroovviiddeedd ffoorr eenneerrggyy ccoonnttrrooll
This appliance is designed for an external energy
consumption control.
Connect the energy peak controller across terminals 11 and
12.
CCAAUUTTIIOONN
A normally open (n.o.) contact of the
controller must be connected across
terminals 11 and 12. When this contact
closes the boiler heating elements are
disconnected. Using the dishwasher in
these conditions may increase the cycle
time.
FF..99 SSaaffeettyy ddeevviicceess
An automatic-reset overload protector incorporated in the
electric pump windings cuts off the power to the pump in
case of faulty operation.
A device prevents the booster water from returning back
into the system in the event of a water supply system fault.
An overflow pipe connected to the discharge ensures a
constant water level in the tank.
IIMMPPOORRTTAANNTT
The Manufacturer declines any liability if
the accident-prevention regulations are
not respected.
FF..1100 DDeetteerrggeenntt//rriinnssee aaiidd ddiissppeennsseerrss aanndd
pprreeaarrrraannggeemmeennttss
NOTE!
If the machine is connected to a water softener
and/or a reverse osmosis system, contact the
detergent supplier for a specific product.

Related product manuals