EasyManua.ls Logo

Electrolux EUT1040AOW - Fonctionnement

Electrolux EUT1040AOW
64 pages
Print Icon
To Next Page IconTo Next Page
To Next Page IconTo Next Page
To Previous Page IconTo Previous Page
To Previous Page IconTo Previous Page
Loading...
2.6 Mise au rebut
AVERTISSEMENT!
Risque de blessure ou
d'asphyxie.
Débranchez l'appareil de
l'alimentation électrique.
Coupez le câble d'alimentation et
mettez-le au rebut.
Retirez la porte pour empêcher les
enfants et les animaux de s'enfermer
dans l'appareil.
Le circuit frigorifique et les matériaux
d'isolation de cet appareil préservent
la couche d'ozone.
La mousse isolante contient un gaz
inflammable. Contactez votre service
municipal pour obtenir des
informations sur la marche à suivre
pour mettre l'appareil au rebut.
N'endommagez pas la partie du
circuit de réfrigération située à
proximité du condenseur thermique.
3. FONCTIONNEMENT
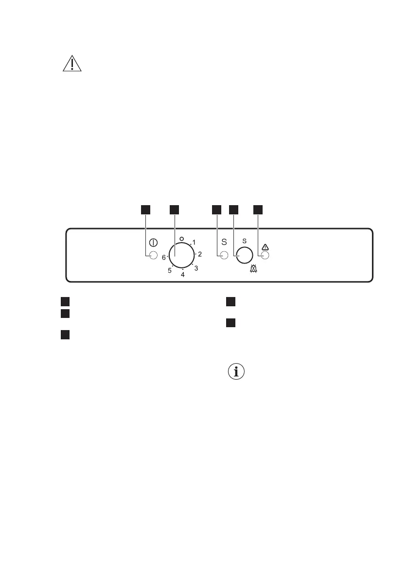
3.1 Bandeau de commande
1 2 3 4 5
1
Voyant Marche/Arrêt vert
2
Thermostat et interrupteur Marche/
Arrêt
3
Voyant jaune FastFreeze
4
Touche Arrêt du signal sonore et
touche FastFreeze
5
Voyant d'alarme rouge
3.2 Mise en marche
Après l'installation, attendez 4 heures
avant de brancher l'appareil.
1. Insérez la fiche dans la prise murale.
2. Tournez le thermostat vers la droite,
sur une position moyenne.
Le voyant Marche/Arrêt vert s'allume
et le voyant Alarme rouge clignote.
Le voyant Marche/Arrêt vert allumé
signifie que l'appareil est allumé.
Le voyant d'alarme rouge
clignotant et l'alarme sonore
signifient que la température
à l'intérieur du compartiment
de congélation est
incorrecte. Appuyez sur la
touche Arrêt du signal
sonore et la touche
FastFreeze pour désactiver
l'alarme sonore. Le voyant
d'alarme continue de
clignoter jusqu'à ce que les
conditions normales soient
restaurées.
www.electrolux.com20

Related product manuals