EasyManua.ls Logo

Electrolux EUT1040AOW - Описание Работы

Electrolux EUT1040AOW
64 pages
Print Icon
To Next Page IconTo Next Page
To Next Page IconTo Next Page
To Previous Page IconTo Previous Page
To Previous Page IconTo Previous Page
Loading...
3. ОПИСАНИЕ РАБОТЫ
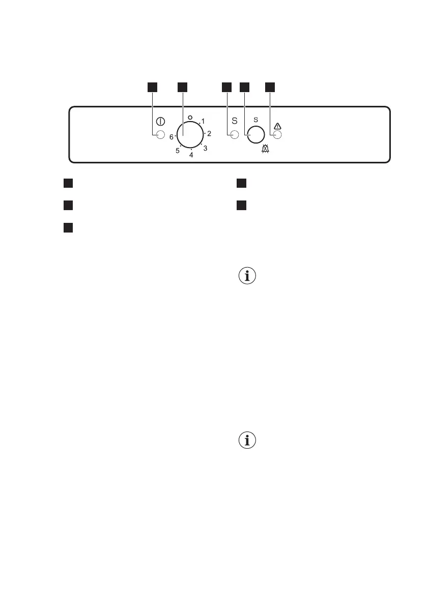
3.1 Панель управления
1 2 3 4 5
1
Зеленый индикатор сети «Вкл/
Выкл»
2
Регулятор температуры и
выключатель
3
Желтый световой индикатор
FastFreeze
4
Выключатель звукового сигнала и
выключатель FastFreeze
5
Красный сигнальный индикатор
3.2 Включение
После установки прибора дайте ему
постоять в вертикальном положении 4
часа.
1. Вставьте вилку сетевого шнура в
розетку.
2. Поверните регулятор температуры
по часовой стрелке в среднее
положение.
Загорится зеленый индикатор
«Вкл/Выкл»; замигает красный
сигнальный индикатор.
Горящий зеленый индикатор «Вкл/
Выкл» означает, что прибор
включен.
Мигание красного
сигнального индикатора и
выдача звукового сигнала
означает, что температура
в отделении для
замораживания находится
за пределами допустимого
значения. Чтобы
отключить сигнализацию
нажмите на кнопку
отключения сигнализации
и на выключатель
FastFreeze. Сигнальный
индикатор продолжит
мигать до восстановления
заданной температуры.
При первом включении
морозильника красный
сигнальный индикатор
начнет мигать. Мигание
прекратится, как только
температура внутри
прибора достигнет уровня,
требуемого для
безопасного хранения в
нем замороженных
продуктов.
www.electrolux.com52

Related product manuals