EasyManua.ls Logo

Electrolux EWF 14012 - Control Panel; On;Off Button; Program Touchpads; Favourite Touchpad

Electrolux EWF 14012
96 pages
Print Icon
To Next Page IconTo Next Page
To Next Page IconTo Next Page
To Previous Page IconTo Previous Page
To Previous Page IconTo Previous Page
Loading...
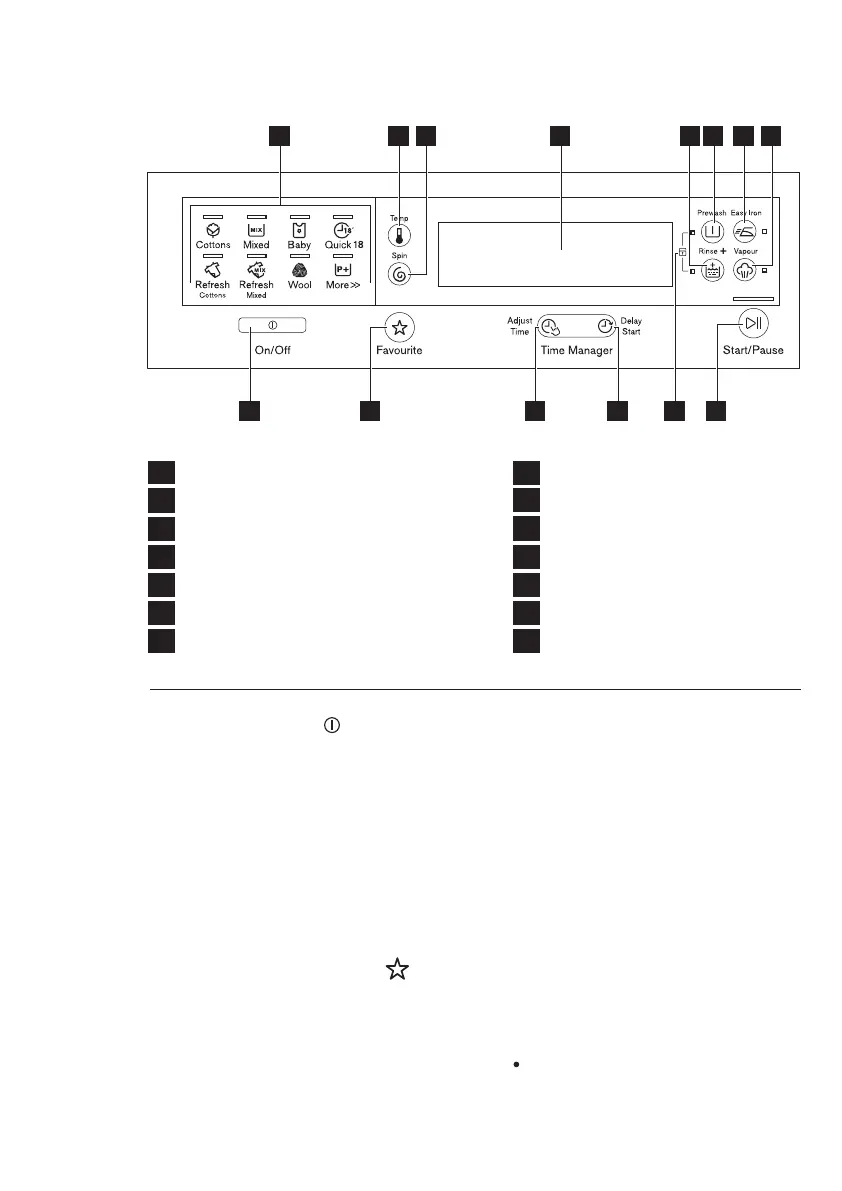
CONTROL PANEL3.
1
On/Off Button
3.1 On/Off Button
2
Program Touchpads
3
Favourite Touchpad
4
Temperature Touchpad
5
Spin Selection Touchpad
6
Adjust Time Touchpad
7
Delay Start Touchpad
8
Display
9
Rinse Plus Touchpad
10
Prewash Touchpad
11
Easy Iron Touchpad
12
Vapour Touchpad
13
Start/Pause Touchpad
14
Child Lock Option (See Page 18)
6
www.electrolux.com
1 13146 73
2 4 108 9 11 125
On/Off button is used to turn on
and turn off your washing
machine.
3.2 Program Touchpads
Press the program icon to select
the wash program. The relevant
light will light up.
(See page 10)
3.3 Favourite Touchpad
Program settings that are
frequently used can be saved (e.g.
Cotton, 60°C, 1200 rpm, with
Prewash and Rinse Plus).
To recall the favourite wash
program, press ‘Favourite’ button.
You will get acknowledgement on
the screen the Favourite program
is loaded.
You can recall a favourite wash
program ONLY when the washing
machine is:
Otherwise touching Favourite will
have no effect.
in the program selection mode.
To program/re-program Favourite
with your own selections and save
them, proceed as follows:
1. Put machine in Stand-by mode.
2. Select your desired wash
settings.
3. To save the new program touch
and hold ‘Favourite’ button for 3
seconds.

Related product manuals