EasyManua.ls Logo

Electrolux EWF 14012 - 日常使用

Electrolux EWF 14012
96 pages
Print Icon
To Next Page IconTo Next Page
To Next Page IconTo Next Page
To Previous Page IconTo Previous Page
To Previous Page IconTo Previous Page
Loading...
76
www.electrolux.com
日常使用
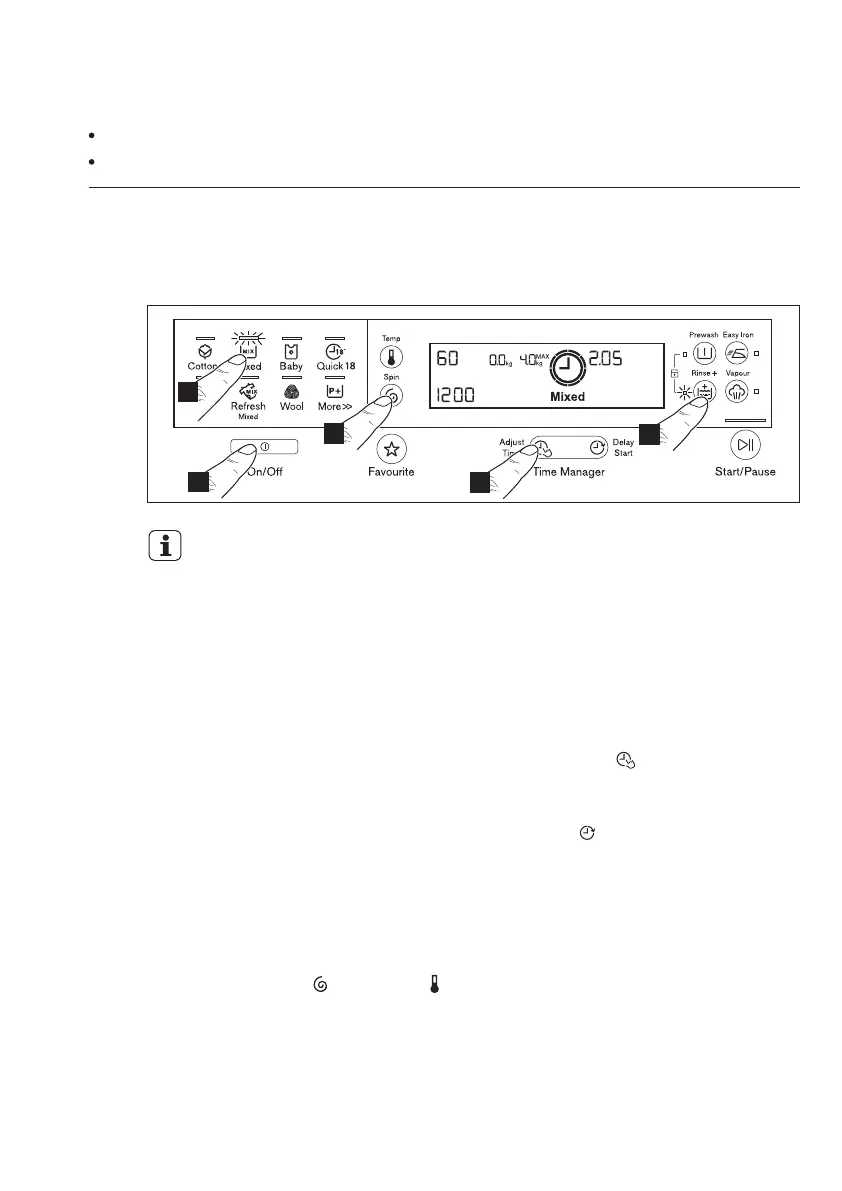
5.
1
3
5
4
2
请反复按脱水“ ”和温度“ ”
触控按钮更改脱水速度和温度。
步骤 1 - 设定洗衣程序
1.
按下电源开关启动洗衣机。
为使重量感应器能正常工作,
请先在滚筒内装入衣物,然
后再启动洗衣机并设定洗衣
程序。
3.
如果希望使用不同于洗衣机建议的
脱水速度和温度洗涤衣物,
4.
如果希望使用特殊功能洗涤衣物,
根据需要按相应的选项触控按钮。
根据选定的洗衣程序的不同,可以
组合使用各种不同的功能。
2.
触按其中一个程序图标,选择需要
的洗衣程序。
对应的指示灯将亮起。
-
一旦选择了某个洗衣程序,选定
的程序将在整个洗衣期间保持原
位。
-
显示屏将显示 Time Manager
时控级别、程序持续时间以及程
序各个阶段的指示标志。
-
5.
按下这些触控按钮时,对应的指示
灯将亮起。再次按下,指示灯将熄
灭。
5.1
四步使用入门指南
将电源插头插入电源插座。
打开水龙头。
如果希望缩短洗衣时间,反复按
“时间调整 ”触控按钮缩短洗衣
时间。
如果希望预约洗衣程序,按预约触
控按钮 选择洗衣机的预约时间。

Related product manuals