EasyManua.ls Logo

Electrolux EWF12843 - B Ng ĐI U Khi N

Electrolux EWF12843
100 pages
Print Icon
To Next Page IconTo Next Page
To Next Page IconTo Next Page
To Previous Page IconTo Previous Page
To Previous Page IconTo Previous Page
Loading...
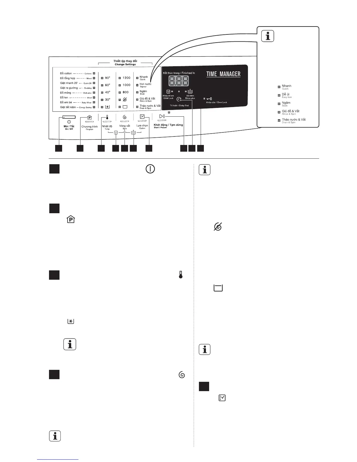
BẢNG ĐIỀU KHIỂN
3.
1
Nút On/O (Mở/Tắt)
2
3
4
5
Nút On/O (Mở/Tắt) được sử dụng để
bật và tắt máy giặt của bạn.
Phím Điều Khiển “Chương Trình”
( )
Nhấn touchpad này để chọn chương
trình giặt. Đèn tương ứng sẽ sáng. (Để
biết thêm thông tin về chương trình giặt,
xin vui lòng xem ở trang 75-76)
Phím Điều Khiển “Nhiệt Độ” ( )
TIẾNG VIỆT 71
Nhấn phím điều khiển này lặp đi lặp lại
để tăng hoặc giảm nhiệt độ giặt nếu bạn
muốn giặt đồ giặt tại nhiệt độ khác với
nhiệt độ máy giặt gợi ý (biểu tượng
“ ” tương ứng với giặt lạnh). Đèn
tương ứng sẽ sáng.
Phím Điều Khiển “Lựa Chọn”
( )
Nhấn các phím điều khiển "Option",
nếu bạn muốn giặt đồ với các chức
năng đặc biệt. Đèn tương ứng sẽ
sáng.
Phím Điều Khiển “Vòng Vắt” ( )
Nhấn phím điều khiển này nhiều lần để
tăng hoặc giảm tốc độ vòng vắt nếu bạn
muốn vắt đồ giặt của mình ở tốc độ
khác tốc độ mà máy giặt đề xuất. Đèn
tương ứng sẽ sáng.
Tùy chọn Không Vắt loại bỏ tất cả
các giai đoạn vắt và tăng số lần xả
thêm 3 lần cho chương trình
Cotton & 1 lần cho những chương
trình khác.
Không Vắt
Bằng cách chọn tùy chọn này, nước
trong lần xả cuối không bị rút sạch
và lồng giặt xoay liên tục để ngăn
đồ giặt bị nhăn. Cửa vẫn khóa để
cho biết nước phải được xả hết ra.
Giữ Xả
Cửa vẫn khóa với nước ở trong
thùng giặt. Để ráo nước tham khảo
đoạn có liên quan trên trang 81.
Có thể kết hợp “Nhiệt Độ” khác
nhau tùy thuộc vào chương trình
đã chọn.
Có thể kết hợp “Vòng Vắt” khác nhau tùy
thuộc vào chương trình đã chọn.
Trong chu trình sử dụng nhiệt độ
cao, bạn có thể thấy được hơi
nước thoát ra từ ngăn đựng chất
giặt tẩy của máy giặt, đây là điều
bình thường và sẽ không gây ra
sự báo động nào.
1 2 3 4 5 7 6 8
9 10
* Hình ảnh kiểm soát mô hình bảng
điều khiển: EWF12843
3.1
Control Panel Mô tả
Đối với mô hình
EWF80743, tùy chọn
này thay thế bằng
chương trình "
Easy
Iron
" (Dễ ủi).
LƯU Ý:

Related product manuals