EasyManua.ls Logo

Electrolux EWUD040B8B - Täglicher Gebrauch

Electrolux EWUD040B8B
Print Icon
To Next Page IconTo Next Page
To Next Page IconTo Next Page
To Previous Page IconTo Previous Page
To Previous Page IconTo Previous Page
Loading...
Prüfen Sie, ob der Wein im Inneren
nicht verdorben ist.
Wenn die Temperatur immer noch zu
hoch oder zu niedrig ist, wird der
Alarm nach 60 Minuten erneut
ausgelöst.
Der Alarm wird nicht
innerhalb der ersten 90
Minuten nach Einschalten
des Geräts ausgelöst.
5.13 Alarm - Tür offen
Wenn die Tür ca. 5 Minuten geöffnet
bleibt, blinken die Leuchten, und das
Display zeigt ein blinkendes dr OP an.
Nach 2 weiteren Minuten ist der Ton
eingeschaltet.
Der Alarm stoppt nach dem Schließen
der Tür oder nach Drücken einer
beliebigen Taste am Bedienfeld.
Der Alarm wird nach 5
Minuten erneut ausgelöst,
wenn die Tür noch offen ist.
6. TÄGLICHER GEBRAUCH
6.1 Lagerung von Wein
Dieses Gerät ist
ausschließlich zur Lagerung
von Wein bestimmt.
Das Weinlagerfach ist (auf
dem Typenschild) mit
gekennzeichnet.
Die Lagerfähigkeit von Wein hängt vom
Alter, dem Alkoholgehalt, der Art der
Trauben und dem Gehalt an
Fruchtzucker ab. Prüfen Sie beim Kauf,
ob der Wein bereits ausgereift ist oder ob
er sich mit der Zeit noch verbessern wird.
Empfohlene Lagertemperaturen:
Champagner und Schaumweine
zwischen +6°C und +8°C.
Weißweine zwischen +10°C und
+12°C.
Rosé- und leichte Rotweine zwischen
+12°C und +16°C.
Ausgereifte Rotweine zwischen
+14°C und +18°C.
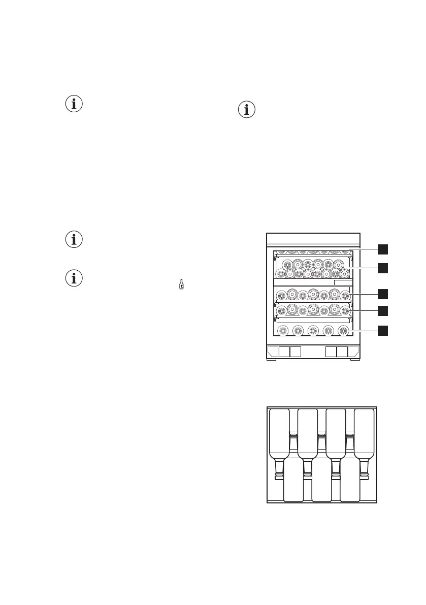
Das Gerät ist für die Aufbewahrung von
bis zu 40 Bordeaux-Flaschen (0,75 l)
ausgelegt (18 nach Entnahme des
unteren Regals), wenn folgendermaßen
platziert:
5 Flaschen auf Ebene 1,
7 Flaschen auf Ebene 2,3,5,
14 Flaschen auf Ebene 4
Einschubebenen
1
2
3
4
5
Ganze Einschubebenen 2,3,5
6.2 Entfernen und Einsetzen
von Regalen
Ablagen entfernen
www.electrolux.com48

Table of Contents

Related product manuals