EasyManua.ls Logo

Electrolux EWUD040B8B - Page 8

Electrolux EWUD040B8B
Print Icon
To Next Page IconTo Next Page
To Next Page IconTo Next Page
To Previous Page IconTo Previous Page
To Previous Page IconTo Previous Page
Loading...
Pokud máte jakékoliv
pochybnosti o místě
instalace spotřebiče, obraťte
se prosím na prodejce, na
náš zákaznický servis nebo
na nejbližší autorizované
servisní středisko.
Spotřebič musí být možné
odpojit od elektrické sítě.
Zástrčka proto musí být i po
instalaci dobře přístupná.
3.3 Připojení k elektrické síti
Spotřebič smí být připojen k síti až po
ověření, že napětí a frekvence
uvedené na typovém štítku odpovídají
napětí v domácí síti.
Spotřebič musí být uzemněn.
Zástrčka napájecího kabelu je k
tomuto účelu vybavena příslušným
kontaktem. Pokud není domácí
zásuvka uzemněná, poraďte se s
odborníkem a připojte spotřebič k
samostatnému uzemnění v souladu s
platnými předpisy.
Výrobce odmítá veškerou
odpovědnost v případě nedodržení
výše uvedených pokynů.
Tento spotřebič je v souladu se
směrnicemi EHS.
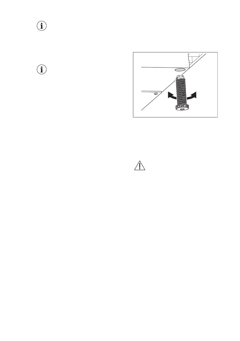
3.4 Vyrovnání
Při umísťování spotřebiče dbejte na to,
aby stál vodorovně. Toho lze dosáhnout
pomocí čtyř seřiditelných nožiček na
spodní straně spotřebiče.
3.5 Změna směru otvírání
dvířek
Informace o instalaci a změně směru
otvírání dveří naleznete v samostatném
dokumentu s pokyny.
POZOR!
Během celého postupu
změny směru otvírání dveří
chraňte podlahu před
poškrábáním odolným
materiálem.
www.electrolux.com8

Table of Contents

Related product manuals