EasyManua.ls Logo

Electrolux EWUS018B7B - Conseils; Entretien et Nettoyage

Electrolux EWUS018B7B
56 pages
Print Icon
To Next Page IconTo Next Page
To Next Page IconTo Next Page
To Previous Page IconTo Previous Page
To Previous Page IconTo Previous Page
Loading...
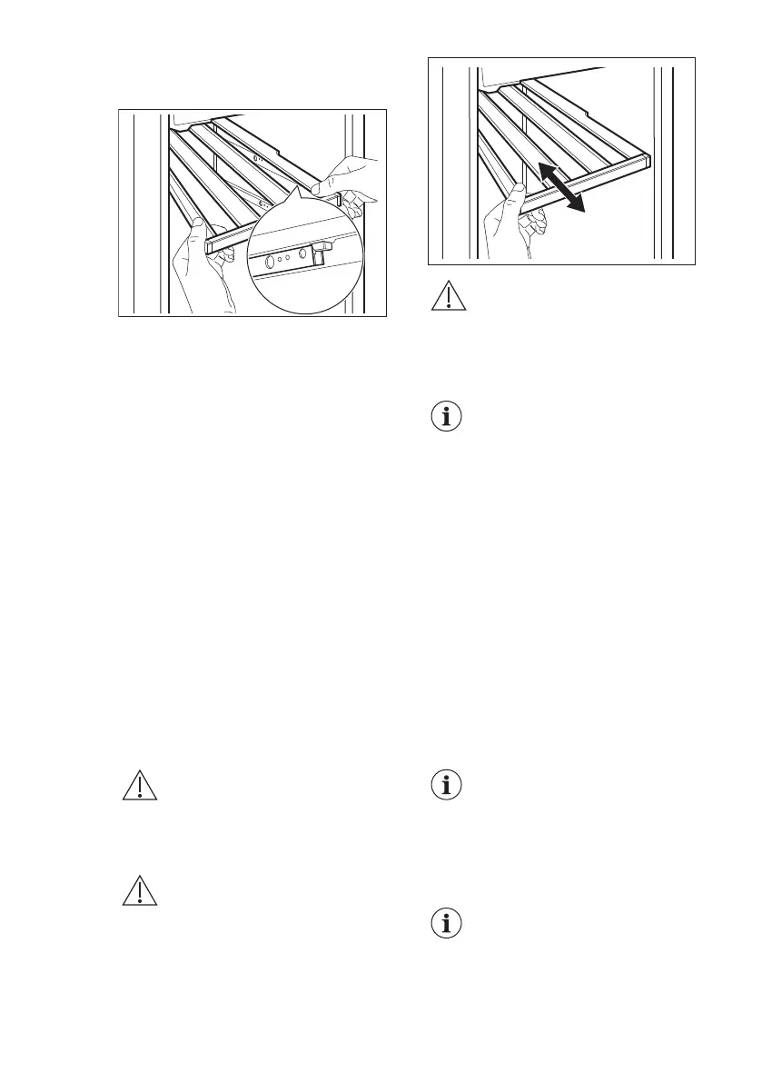
2. Insérez la clayette en diagonale par
rapport à l’appareil.
3. Positionnez les guides sur les rails.
4. Appuyez fermement sur la clayette
pour verrouiller les deux crochets sur
les rails.
5. Tirez plusieurs fois sur l’étagère et
poussez-la dans l’appareil, puis
appuyez à nouveau fermement
dessus pour vérifier qu’elle est
correctement accrochée aux rails.
6. Repoussez la clayette dans
l’appareil.
ATTENTION!
Avant de placer des
bouteilles de vin sur les
clayettes, assurez-vous
qu’elles sont correctement
accrochées.
Utilisez les clayettes en bois
uniquement pour ranger les
bouteilles.
7. CONSEILS
7.1 Conseils pour économiser
l’énergie
La configuration interne de l’appareil
permet une consommation d’énergie
la plus efficace possible.
Évitez d'ouvrir fréquemment la porte
et ne la laissez ouverte que le temps
nécessaire.
Assurez une bonne ventilation. Ne
couvrez pas les grilles ou les orifices
de ventilation.
8. ENTRETIEN ET NETTOYAGE
AVERTISSEMENT!
Reportez-vous aux chapitres
relatifs à la Sécurité.
8.1 Avertissements généraux
ATTENTION!
Débranchez l'appareil avant
toute opération d'entretien et
de nettoyage.
Cet appareil contient des
hydrocarbures dans son
circuit de réfrigération ;
l'entretien et la recharge ne
doivent donc être effectués
que par du personnel
qualifié.
Les pièces et accessoires de
l'appareil ne doivent pas être
lavés au lave-vaisselle.
FRANÇAIS 31

Related product manuals