EasyManua.ls Logo

Electrolux EWUS018B7B - Consigli E Suggerimenti; Cura E Pulizia

Electrolux EWUS018B7B
56 pages
Print Icon
To Next Page IconTo Next Page
To Next Page IconTo Next Page
To Previous Page IconTo Previous Page
To Previous Page IconTo Previous Page
Loading...
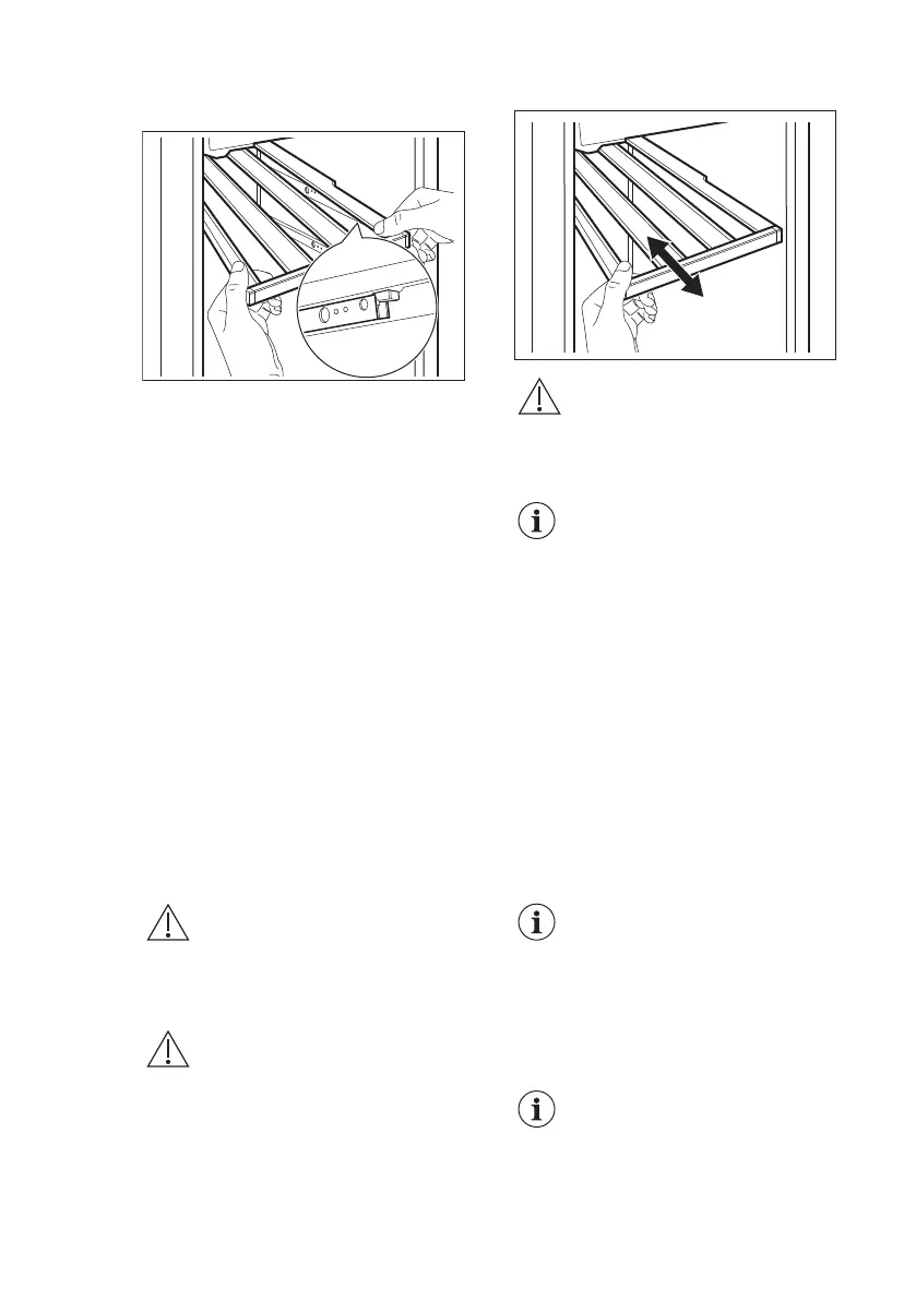
2. Inserire il ripiano diagonalmente
rispetto all'apparecchiatura.
3. Posizionare le guide sulle rotaie.
4. Premere saldamente il ripiano verso
il basso per bloccare entrambi i ganci
sulle rotaie.
5. Estrarre più volte il ripiano e
spingerlo nuovamente
nell'apparecchio, quindi premerlo
nuovamente con decisione verso il
basso per verificare che sia
agganciato correttamente alle guide.
6. Spingere il ripiano
nell'apparecchiatura.
ATTENZIONE!
Prima di posizionare le
bottiglie di vino sugli scaffali,
assicurarsi che siano
agganciate correttamente.
Utilizzare i ripiani in legno
solo per immagazzinare le
bottiglie.
7. CONSIGLI E SUGGERIMENTI
7.1 Consigli per il risparmio
energetico
L’uso più efficiente dell’energia
dipende dalla configurazione interna
dell’apparecchiatura.
Non aprire frequentemente la porta e
limitare il più possibile i tempi di
apertura.
Garantire una buona ventilazione.
Non coprire le griglie o i fori di
ventilazione.
8. CURA E PULIZIA
AVVERTENZA!
Fare riferimento ai capitoli
sulla sicurezza.
8.1 Avvertenze generali
ATTENZIONE!
Prima di qualsiasi intervento
di manutenzione, estrarre la
spina dalla presa.
Questa apparecchiatura
contiene idrocarburi
nell’unità di raffreddamento,
pertanto le operazioni di
manutenzione e ricarica
devono essere eseguite
esclusivamente da
personale autorizzato.
Gli accessori e i componenti
dell’apparecchiatura non
sono lavabili in lavastoviglie.
ITALIANO 49

Related product manuals