EasyManua.ls Logo

Electrolux EWX1237 - Washing Programme Details; Cotton and Coloureds Programmes; Synthetics and Delicates Programmes

Electrolux EWX1237
32 pages
Print Icon
To Next Page IconTo Next Page
To Next Page IconTo Next Page
To Previous Page IconTo Previous Page
To Previous Page IconTo Previous Page
Loading...
24
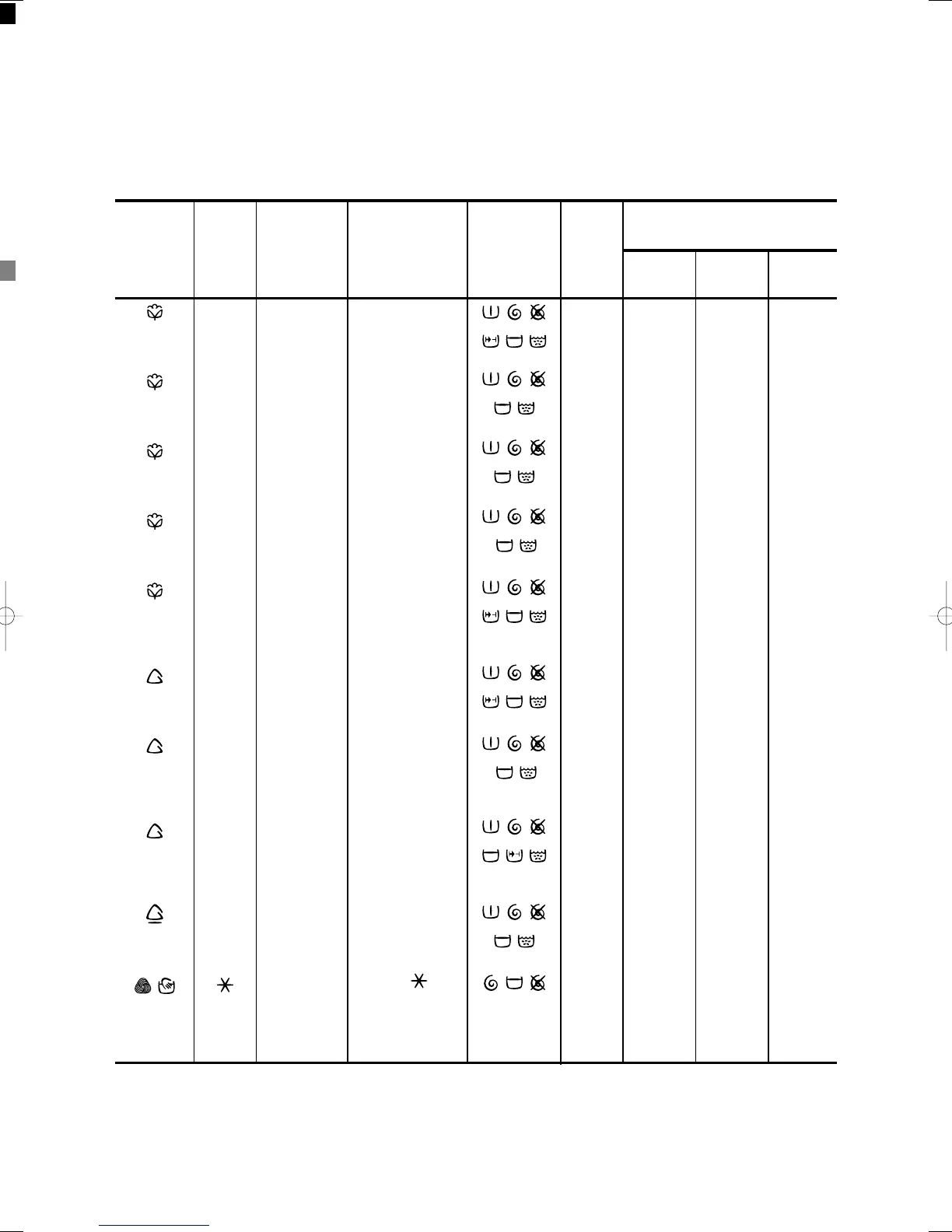
Programme chart
Washing programmes
* The consumption data shown on this chart is to be considered purely indicative, as it may vary depending on
the quantity and type of laundry, on the inlet water temperature and on the ambient temperature. It corresponds
to the highest temperature for each wash programme and to a wash load, for cotton, of 5 kg.
** In compliance with EC directive 92/75, the consumption figures indicated on the energy label refer to the
E60° wash programme for cotton with a load of 5 kg.
Section
90°
E60° **
60°
E40°
30°-40°
60°
E60°
30°-40°
30°-40°
Cold-
30°-
40°-
Temp.
Type of
fabric
Additional
functions
5 kg
5 kg
5 kg
5 kg
5 kg
2.5 kg
2.5 kg
2.5 kg
2 kg
1 kg
Max.
load
1.9
0.85
1.2
0.9
0.7
0.85
0.5
0.45
0.55
0.4
52
49
49
49
49
41
41
38
58
58
142
136
121
141
118
87
89
79
58
57
Consumption*
Energy
kWh
Water
lt
Time
min
White
cotton
White and
fast
coloured
economy
Fast
coloureds
Coloureds
economy
Non-fast
coloureds
Synthetics
Synthetics
economy
Synthetics
Delicates
Wool/
Handwash
Programme
description
Wash at 90°C
3 rinses
Normal spin
Wash at 60°C
3 rinses
Normal spin
Wash at 60°C
3 rinses
Normal spin
Wash at 40°C
3 rinses
Normal spin
Wash at 30°-40°
3 rinses
Normal spin
Wash at 60°C
3 rinses
Delicate spin
Wash at 40°C
3 rinses
Delicate spin
Wash at 30°-
40°C
3 rinses
Delicate spin
Wash at 30°-
40°C
3 rinses
Delicate spin
Wash at
Cold-30°-40°C-
3 rinses
Delicate spin
132983170gb.qxd 27/09/2005 13:56 Pagina 24 (Nero/Process Black pellicola)

Related product manuals