EasyManua.ls Logo

Electrolux GA60GLICSP - Bedienfeld

Electrolux GA60GLICSP
60 pages
Print Icon
To Next Page IconTo Next Page
To Next Page IconTo Next Page
To Previous Page IconTo Previous Page
To Previous Page IconTo Previous Page
Loading...
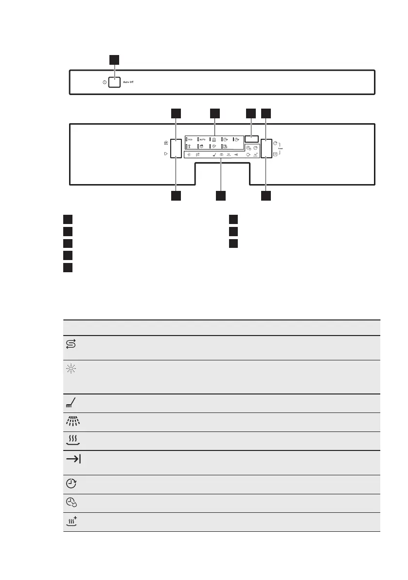
4. BEDIENFELD
1
2 4
68
3
7
5
1
Ein/Aus-Taste
2
Program Taste
3
Programm-Kontrolllampen
4
Display
5
Zeitvorwahl / Départ Différé /
Ritardo Taste
6
Option Taste
7
Kontrolllampen
8
Start Taste
4.1 Anzeigen
Anzeige Beschreibung
Salzanzeige. Leuchtet, wenn der Salzbehälter nachgefüllt werden
muss. Sie erlischt während des Programmbetriebs.
Klarspülmittelanzeige. Leuchtet, wenn der Klarspülmittel-Dosierer
nachgefüllt werden muss. Sie erlischt während des Programmbet‐
riebs.
Hauptspülgang. Leuchtet während des Spülgangs auf.
Spülgang. Leuchtet während der Spülphase auf.
Trockenphase. Leuchtet während der Trocknungsphase auf.
Programmende-Anzeige. Leuchtet nach dem Ende des Spülpro‐
gramms.
Zeitvorwahl / Départ Différé / Ritardo-Anzeige.
TimeSaver-Anzeige.
XtraDry-Anzeige.
DEUTSCH 35

Related product manuals