EasyManua.ls Logo

Electrolux GA60GLICSP - 4. CONTROL PANEL

Electrolux GA60GLICSP
60 pages
Print Icon
To Next Page IconTo Next Page
To Next Page IconTo Next Page
To Previous Page IconTo Previous Page
To Previous Page IconTo Previous Page
Loading...
3.1 Internal light
The appliance has an internal lamp. It
comes on when you open the door or
switch the appliance on while the door is
open.
The lamp goes off when you close the
door or switch the appliance off.
Otherwise, it goes off automatically after
some time to save energy.
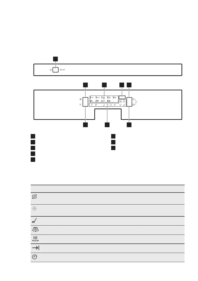
4. CONTROL PANEL
1
2 4
68
3
7
5
1
On/off button
2
Program button
3
Programme indicators
4
Display
5
Zeitvorwahl / Départ Différé /
Ritardo button
6
Option button
7
Indicators
8
Start button
4.1 Indicators
Indicator Description
Salt indicator. It is on when the salt container needs refilling. It is al‐
ways off while the programme operates.
Rinse aid indicator. It is on when the rinse aid dispenser needs refill‐
ing. It is always off while the programme operates.
Washing phase. It is on when the washing phase operates.
Rinsing phase. It is on when the rinsing phase operates.
Drying phase. It is on when the drying phase operates.
End indicator. It is on when the programme is completed.
Zeitvorwahl / Départ Différé / Ritardo indicator.
ENGLISH 7

Related product manuals