EasyManua.ls Logo

Electrolux IK2355BL - Installation; Closing the Door; Ventilation Requirements

Electrolux IK2355BL
36 pages
Print Icon
To Next Page IconTo Next Page
To Next Page IconTo Next Page
To Previous Page IconTo Previous Page
To Previous Page IconTo Previous Page
Loading...
Only service is allowed to replace the
lighting device. Contact your Authorised
Service Centre.
7.3 Closing the door
1. Clean the door gaskets.
2. If necessary, adjust the door. Refer to
assembly instructions.
3. If necessary, replace the defective
door gaskets. Contact the Authorised
Service Centre.
8. INSTALLATION
8.1 Location
Refer to the assembly
instructions for the
installation.
To ensure best performance, install the
appliance well away from sources of heat
such as radiators, boilers, direct sunlight
etc. Make sure that air can circulate freely
around the back of the cabinet.
8.2 Positioning
Install the appliance in a dry, well
ventilated indoors where the ambient
temperature corresponds to the climate
class indicated on the rating plate of the
appliance.
Climate
class
Ambient temperature
SN +10°C to + 32°C
N +16°C to + 32°C
ST +16°C to + 38°C
T +16°C to + 43°C
Some functional problems
might occur for some types
of models when operating
outside of that range. The
correct operation can only be
guaranteed within the
specified temperature range.
If you have any doubts
regarding where to install the
appliance, please turn to the
vendor, to our customer
service or to the nearest
Authorised Service Centre.
8.3 Electrical connection
Before plugging in, ensure that the
voltage and frequency shown on the
rating plate correspond to your
domestic power supply.
The appliance must be earthed. The
power supply cable plug is provided
with a contact for this purpose. If the
domestic power supply socket is not
earthed, connect the appliance to a
separate earth in compliance with
current regulations, consulting a
qualified electrician.
The manufacturer declines all
responsibility if the above safety
precautions are not observed.
This appliance complies with the E.E.C.
Directives.
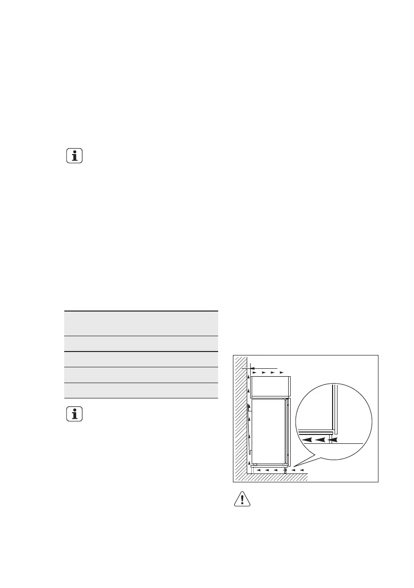
8.4 Ventilation requirements
The airflow behind the appliance must be
sufficient.
5 cm
min.
200 cm
2
min.
200 cm
2
CAUTION!
Refer to the assembly
instructions for the
installation.
ENGLISH
13

Related product manuals