EasyManua.ls Logo

Electrolux IK2355BL - Operation; Control Panel; Daily Use

Electrolux IK2355BL
36 pages
Print Icon
To Next Page IconTo Next Page
To Next Page IconTo Next Page
To Previous Page IconTo Previous Page
To Previous Page IconTo Previous Page
Loading...
3. OPERATION
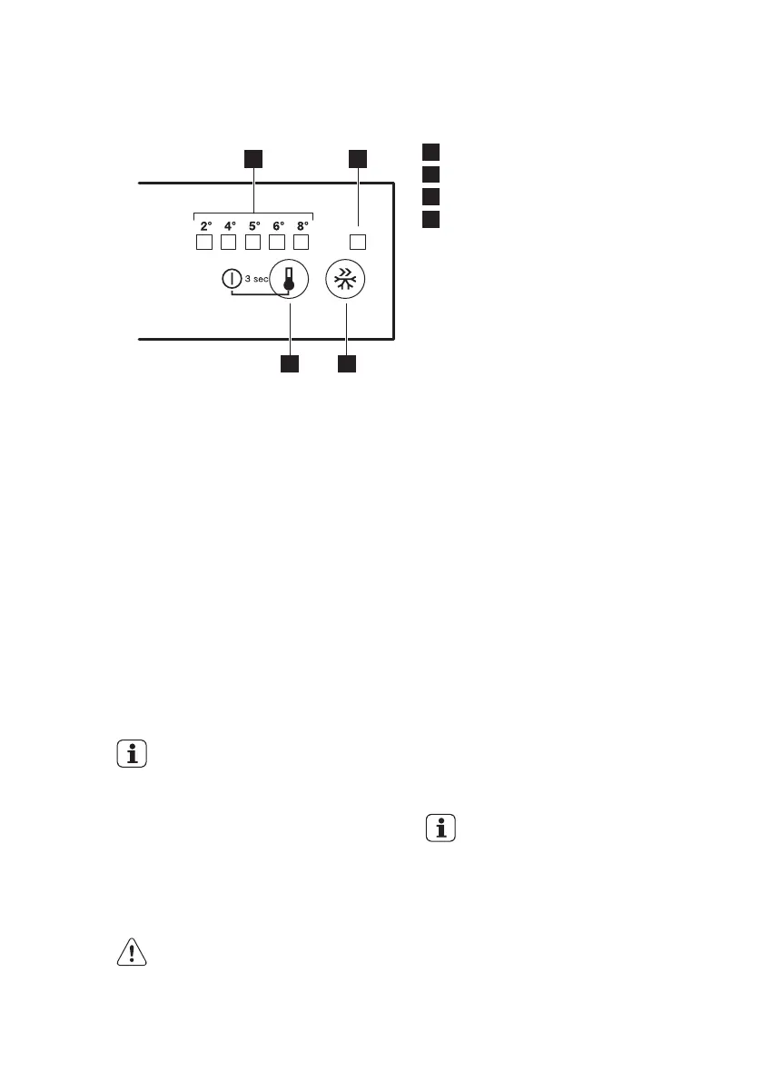
3.1 Control panel
1 2
4 3
1
Temperature indicator LED
2
FastFreeze indicator
3
FastFreeze button
4
Temperature regulator
ON/OFF button
3.2 Switching on
1. Insert the plug into the wall socket.
2. Touch the temperature regulator
button if all LED are off.
3.3 Switching off
Keep touching the temperature regulator
button for 3 seconds.
All indicators light off.
3.4 Temperature regulation
To operate the appliance, touch the
temperature regulator until the LED
corresponding to the required temperature
lights up. Selection is progressive, varying
from 2°C to 8°C.
Coldest setting: +2°C.
Warmest setting: +8°C.
A medium setting is generally
the most suitable.
Choose the setting keeping in mind that
the temperature inside the appliance
depends on:
room temperature
frequency of opening the door
quantity of food stored
appliance location.
1. Touch temperature regulator.
Current temperature indicator blinks. Any
time you touch the temperature regulator,
the setting moves by one position. The
corresponding LED blinks for a while.
2. Touch the temperature regulator until
the required temperature is selected.
3.5 FastFreeze function
You can activate FastFreezefunction by
pressing the FastFreeze button.
The LED corresponding to the symbol
FastFreeze indicator lights up.
You can deactivate FastFreezefunction by
pressing the FastFreeze button again.
The FastFreeze indicator will light off.
This function stops
automatically after 52 hours.
4. DAILY USE
WARNING!
Refer to Safety chapters.
4.1 Cleaning the interior
Before using the appliance for the first
time, the interior and all internal
accessories should be washed with
www.electrolux.com6

Related product manuals