EasyManua.ls Logo

Electrolux IK2355BR - Montage

Electrolux IK2355BR
44 pages
Print Icon
To Next Page IconTo Next Page
To Next Page IconTo Next Page
To Previous Page IconTo Previous Page
To Previous Page IconTo Previous Page
Loading...
8. MONTAGE
8.1 Standort
Installieren Sie dieses Gerät in einem
trockenen, gut belüfteten Raum, in dem
die Umgebungstemperatur mit der
Klimaklasse übereinstimmt, die auf dem
Typenschild des Geräts angegeben ist:
Klima-
klasse
Umgebungstemperatur
SN +10 °C bis +32 °C
N +16 °C bis +32 °C
ST +16 °C bis +38 °C
T +16 °C bis +43 °C
Bei einigen Modellen können
Funktionsstörungen auftreten,
wenn sie außerhalb dieses
Temperaturbereichs
betrieben werden. Der
ordnungsgemäße Betrieb
wird nur innerhalb des
angegebenen
Temperaturbereichs
gewährleistet. Bei Fragen
zum Aufstellungsort des
Geräts wenden Sie sich an
den Verkäufer, unseren
Kundendienst oder
nächstgelegenen Service-
Partner.
8.2 Elektrischer Anschluss
Kontrollieren Sie vor der ersten
Benutzung des Geräts, ob die
Netzspannung und -frequenz Ihres
Hausanschlusses mit den auf dem
Typenschild angegebenen
Anschlusswerten übereinstimmen.
Das Gerät muss geerdet sein. Zu
diesem Zweck ist der Netzstecker mit
einem Schutzkontakt ausgestattet.
Falls die Steckdose Ihres
Hausanschlusses nicht geerdet sein
sollte, lassen Sie das Gerät gemäß den
geltenden Vorschriften von einem
qualifizierten Elektriker erden.
Der Hersteller übernimmt keinerlei
Haftung bei Missachtung der
vorstehenden Sicherheitshinweise.
Das Gerät entspricht den EWG-
Richtlinien.
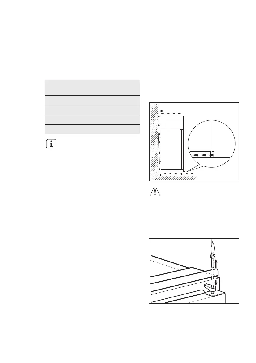
8.3 Anforderungen an die
Belüftung
Hinter dem Gerät muss genug Platz für
eine ausreichende Luftzirkulation sein.
5 cm
min.
200 cm
2
min.
200 cm
2
ACHTUNG!
Beachten Sie bei der
Installation die
Montageanleitung.
8.4 Wechseln des Türanschlags
1. Lösen und entfernen Sie den oberen
Stift.
2. Entfernen Sie die obere Tür.
3. Nehmen Sie das Distanzstück ab.
4. Lösen Sie das mittlere Scharnier.
www.electrolux.com34

Related product manuals