EasyManua.ls Logo

Electrolux LNT3LF18S - Uso Diario

Electrolux LNT3LF18S
44 pages
Print Icon
To Next Page IconTo Next Page
To Next Page IconTo Next Page
To Previous Page IconTo Previous Page
To Previous Page IconTo Previous Page
Loading...
calienten los alimentos ya almacenados
en el compartimento congelador.
Para congelar alimentos
frescos, active la función
FastFreeze al menos 24
horas antes de introducir los
alimentos para completar la
precongelación.
Para activar la función FastFreeze, pulse
el botón FastFreeze. Se enciende el
indicador FastFreeze.
La función se detiene
automáticamente después
de 52 horas.
La función se puede desactivar en
cualquier momento pulsando de nuevo el
botón FastFreeze. Se apaga el indicador
FastFreeze.
4.5 Alarma de puerta abierta
Si la puerta del frigorífico se deja abierta
durante aproximadamente 5 minutos, el
sonido se activa.
Durante la alarma, el sonido se puede
desactivar pulsando cualquier botón. El
sonido se apaga automáticamente
después de aproximadamente una hora
para evitar molestias.
La alarma se desactiva después de
cerrar la puerta.
5. USO DIARIO
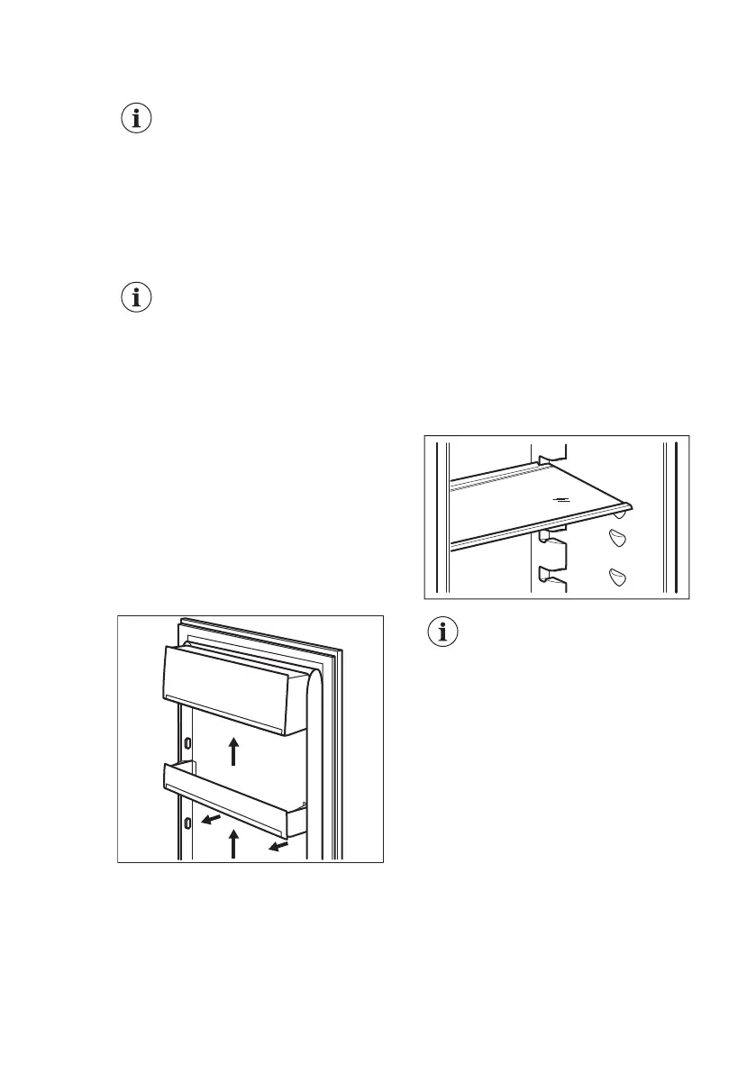
5.1 Colocación de los estantes
de la puerta
Para permitir el almacenamiento de
paquetes de alimentos de varios
tamaños, los estantes de las puertas se
pueden colocar a diferentes alturas.
1. Tire gradualmente del estante hacia
arriba hasta que se suelte.
2. Reposición según sea necesario.
1
2
5.2 Estantes móviles
Las paredes del frigorífico cuentan con
una serie de guías para colocar los
estantes del modo que se prefiera.
No coloque el estante de
vidrio por encima del cajón
de verduras para no impedir
la correcta circulación del
aire.
5.3 Cajones para verduras
En la parte inferior del aparato hay unos
cajones especiales para guardar frutas y
verduras.
5.4 Control de humedad
El estante de cristal incorpora un
dispositivo con ranuras (ajustables
mediante un palanca deslizante), que
permite regular la humedad de los
cajones para verduras.
ESPAÑOL 29

Related product manuals