EasyManua.ls Logo

Electrolux SB309 - Installation

Electrolux SB309
Print Icon
To Next Page IconTo Next Page
To Next Page IconTo Next Page
To Previous Page IconTo Previous Page
To Previous Page IconTo Previous Page
Loading...
If the advice does not lead to
the desired result, contact the
nearest Authorised Service
Centre.
8.2 Closing the door
1. Clean the door gaskets.
2. If necessary, adjust the door. Refer to
"Installation".
3. If necessary, replace the defective
door gaskets. Contact the Authorised
Service Centre.
8.3 Replacing the lamp
CAUTION!
Disconnect the plug from the
mains socket.
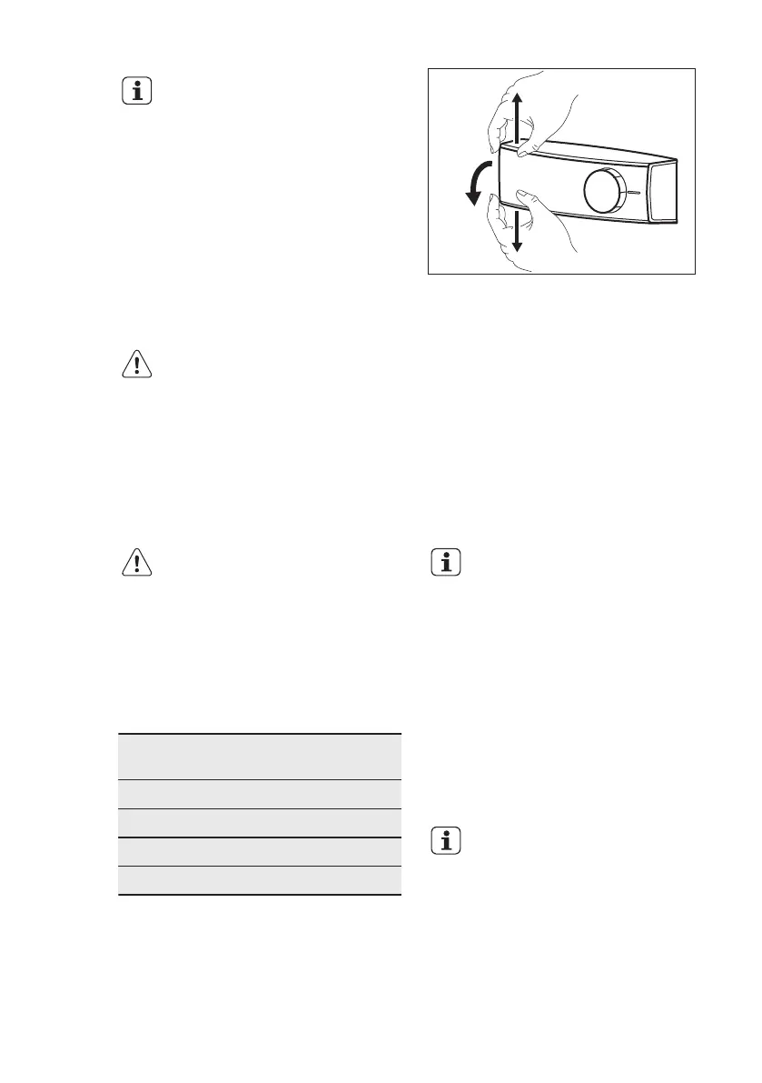
1. At the same time, with the fingers
expand up and down the transparent
cover and unhook it in the direction of
the arrows.
1
1
2
2. Replace the lamp with one of the
same power and shape, specifically
designed for household appliances.
(the maximum power is shown on the
light bulb cover).
3. Reassemble the lamp cover.
4. Connect the plug to the mains socket.
5. Open the door.
Make sure that the light comes on.
9. INSTALLATION
WARNING!
Refer to Safety chapters.
9.1 Positioning
This appliance can be installed in a dry,
well ventilated indoor where the ambient
temperature corresponds to the climate
class indicated on the rating plate of the
appliance:
Climate
class
Ambient temperature
SN +10°C to + 32°C
N +16°C to + 32°C
ST +16°C to + 38°C
T +16°C to + 43°C
Some functional problems
might occur for some types
of models when operating
outside of that range. The
correct operation can only be
guaranteed within the
specified temperature range.
If you have any doubts
regarding where to install the
appliance, please turn to the
vendor, to our customer
service or to the nearest
Service Centre
9.2 Location
It must be possible to
disconnect the appliance
from the mains power supply;
the plug must therefore be
easily accessible after
installation.
The appliance should be installed well
away from sources of heat such as
radiators, boilers, direct sunlight etc.
Ensure that air can circulate freely around
ENGLISH
71

Related product manuals