EasyManua.ls Logo

Electrolux WA GL4 E 201 - Page 39

Electrolux WA GL4 E 201
52 pages
Print Icon
To Next Page IconTo Next Page
To Next Page IconTo Next Page
To Previous Page IconTo Previous Page
To Previous Page IconTo Previous Page
Loading...
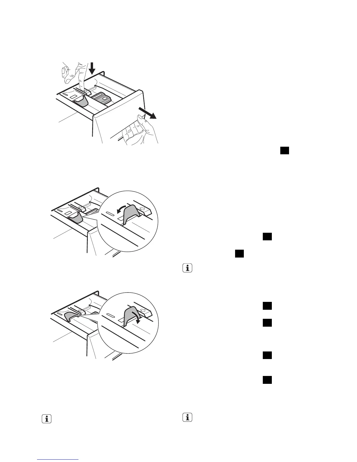
Überprüfen Sie die Position der Klappe
1. Ziehen Sie die Waschmittelschublade
bis zum Anschlag heraus.
2. Drücken Sie den Hebel nach unten und
ziehen Sie die Schublade heraus.
3. Drehen Sie die Klappe nach oben,
wenn Sie Waschpulver verwenden.
4. Drehen Sie die Klappe nach unten,
wenn Sie Flüssigwaschmittel verwen-
den.
5. Messen Sie Waschmittel und Weich-
spüler ab.
6. Schließen Sie die Waschmittelschubla-
de vorsichtig. Achten Sie darauf, dass
die Klappe beim Schließen der Wasch-
mittelschublade nicht blockiert.
Klappe in der unteren Position:
Verwenden Sie keine Gelwaschmittel
oder Flüssigwaschmittel mit dicker
Konsistenz.
Füllen Sie nicht mehr Flüssigwasch-
mittel ein als bis zur Markierungslinie
auf der Klappe.
Stellen Sie nicht den Vorwaschgang
ein.
Stellen Sie nicht die Zeitvorwahl ein.
EINSTELLEN UND STARTEN EINES
PROGRAMMS
1. Drehen Sie den Programmwahlschal-
ter. Die entsprechende Programman-
zeige leuchtet auf.
2.
Die Kontrolllampe der Taste
4
blinkt
rot.
3. Im Display werden die Standardwerte
für Temperatur und Schleuderdrehzahl
angezeigt. Drücken Sie die entsprech-
enden Tasten, um die Temperatur und/
oder Schleuderdrehzahl zu ändern.
4. Wählen Sie die verfügbaren Funktionen
aus. Die Kontrolllampe der eingestellten
Funktion leuchtet oder das Display
zeigt das entsprechende Symbol an.
5.
Drücken Sie die Taste
4
, um das
Programm zu starten. Die Kontrolllam-
pe der Taste
4
leuchtet.
Die Ablaufpumpe kann sich während
des Wasserzulaufs eine kurze Zeit ein-
schalten.
UNTERBRECHEN EINES PROGRAMMS
1.
Drücken Sie die Taste
4
. Die Kon-
trolllampe blinkt.
2.
Drücken Sie die Taste
4
erneut. Das
Waschprogramm wird fortgesetzt.
ABBRECHEN EINES PROGRAMMS
1.
Drücken Sie die Taste
1
, um das
Programm abzubrechen und das Gerät
auszuschalten.
2.
Drücken Sie die Taste
1
erneut, um
das Gerät einzuschalten. Anschließend
können Sie ein neues Waschprogramm
einstellen.
Das Gerät pumpt das Wasser nicht ab.
electrolux 39

Related product manuals