EasyManua.ls Logo

Electrolux WAL3E300 - Page 113

Electrolux WAL3E300
Print Icon
To Next Page IconTo Next Page
To Next Page IconTo Next Page
To Previous Page IconTo Previous Page
To Previous Page IconTo Previous Page
Loading...
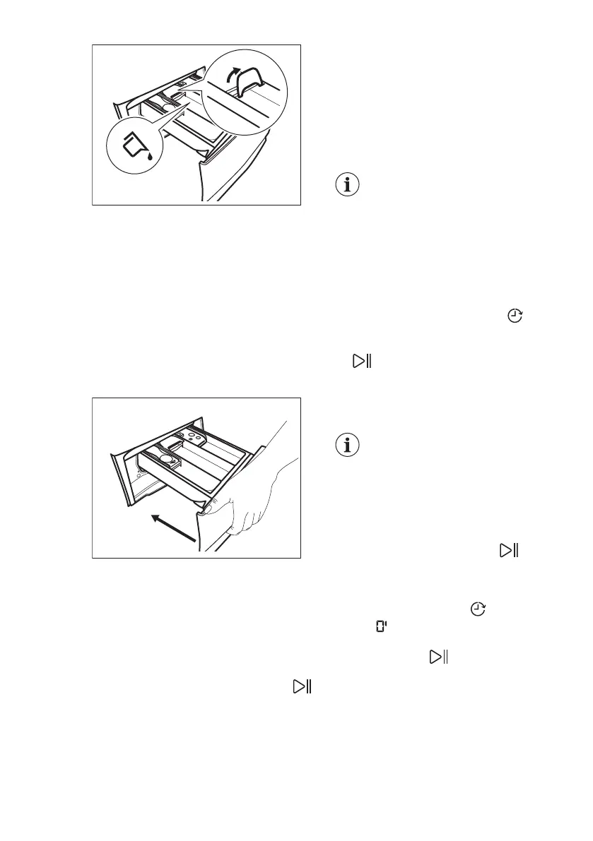
Avec le volet en position BASSE :
N'utilisez pas de lessives liquides
gélatineuses ou épaisses.
Ne dépassez pas la dose de
produit de lavage liquide indiquée
sur le volet.
Ne sélectionnez pas de phase de
prélavage.
Ne sélectionnez pas la fonction
Départ différé.
5. Dosez le produit de lavage et
l'assouplissant.
6. Fermez soigneusement le
distributeur de produit de lavage.
Assurez-vous que le volet ne bloque pas
la fermeture du tiroir.
12.5 Réglage d'un programme
1. Tournez le sélecteur pour choisir le
programme de lavage souhaité. Le
voyant correspondant au programme
s'allume.
Le voyant de la touche Départ/Pause
clignote.
La charge maximale pour le programme,
la température par défaut, la vitesse
d'essorage par défaut, les voyants de la
phase de lavage (si disponibles) et une
durée indicative du programme
s'affichent.
2. Pour modifier la température et/ou la
vitesse d'essorage, appuyez sur les
touches correspondantes.
3. Si nécessaire, sélectionnez une ou
plusieurs options en appuyant sur les
touches correspondantes. Les
indicateurs correspondants
s'affichent et les informations
données changent en conséquence.
Si votre sélection n'est pas
possible, aucun indicateur
ne s'affiche et un signal
sonore retentit.
12.6 Départ d'un programme
avec départ différé
1. Appuyez dessus à plusieurs reprises
jusqu'à ce que le départ différé
souhaité s'affiche. Le voyant
s'affiche.
2. Appuyez sur la touche Départ/Pause
.
L'appareil démarre le décompte du
départ différé.
Lorsque le compte à rebours est terminé,
le programme démarre.
L'ajustement ProSeans
démarre à la fin du
décompte.
Annulation du départ différé au
cours du décompte
Pour annuler le départ différé :
1. Appuyez sur Départ/Pause pour
mettre l'appareil en pause. Le voyant
correspondant clignote.
2. Appuyez à plusieurs reprises sur la
touche Départ Différé jusqu'à ce
que
s'affiche.
3. Appuyez de nouveau sur la touche
Départ/Pause pour lancer le
programme immédiatement.
Modification du départ différé
au cours du décompte
Pour modifier le départ différé :
FRANÇAIS 25

Table of Contents

Related product manuals