EasyManua.ls Logo

Elenberg HT-410 - Panel and Connectivity Overview

Elenberg HT-410
Print Icon
To Next Page IconTo Next Page
To Next Page IconTo Next Page
To Previous Page IconTo Previous Page
To Previous Page IconTo Previous Page
Loading...
24
1. POWER
2. DVD DOOR
3. PLAY/PAUSE BUT-
TON
4. OPEN/CLOSE BUT-
TON
5. STOP BUTTON
6. R/L BUTTON
7. FAST BACKWARD
8. PREV
9. FAST FORWARD
10. NEXT
11. VOLUME
12. MIC JACK
13. MIC VOL
14. ECHO
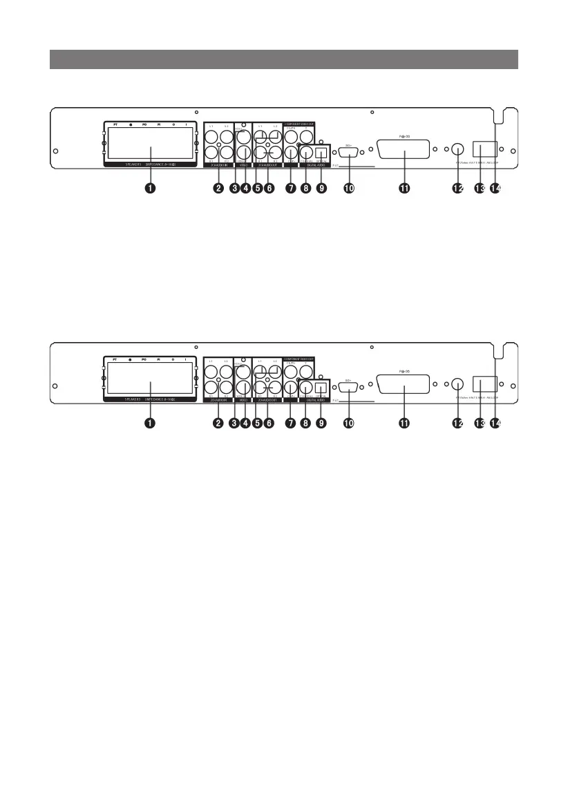
PANEL
1. SPEAKER OUTPUT
TERMINALS
2. 2CH AUDIO INPUT
3. VIDEO OUT
4. S-VIDEO OUT
5. L AUDIO OUT
6. R AUDIO OUT
7. COMPONENT
Y,Cb/Pb,Cr/Pr
8. COAXIAL DIGITAL
OUT
9. OPTICAL OUT
10. VGA
11. SCART
12. FM ANTENNA
13. AM ANTENNA
14. POWER CORD
Rear panel
Front panel

Related product manuals