EasyManua.ls Logo

Elmo 16-CL - Page 67

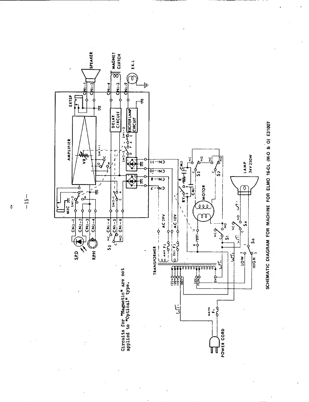
Elmo 16-CL
76 pages
Print Icon
To Next Page IconTo Next Page
To Next Page IconTo Next Page
To Previous Page IconTo Previous Page
To Previous Page IconTo Previous Page
Loading...
AMPLIFIER
SCHEMATIC
DIAGRAM
FOR
MACHINE
FOR
ELMO
16-CL
(M-0
&
O)
E31007

Related product manuals