EasyManua.ls Logo

ELRO KT200TS - Page 13

ELRO KT200TS
17 pages
Print Icon
To Next Page IconTo Next Page
To Next Page IconTo Next Page
To Previous Page IconTo Previous Page
To Previous Page IconTo Previous Page
Loading...
b. Vacation Setting, VC displays in the middle, Heat and Cool setting display at right side.
Vacation days and its adjust displays at bottom.
1) Press the or adjust to set Vacation days. Each step 1 day. Time rage is from 0 to
99 days.
2) Press or adjust to set Vacation heat and cool temperature setting.
3) Press SET to save setting and enter next feature setting.
4) Press OK to save setting and return to normal display. The HOLD symbol will display on
the top until the Vacation finish.
5) To cancel the Vacation setting, enter feature setting ,Press “SET” two times to
change the day to 0 to cancel. Press one or several times to exit the setting
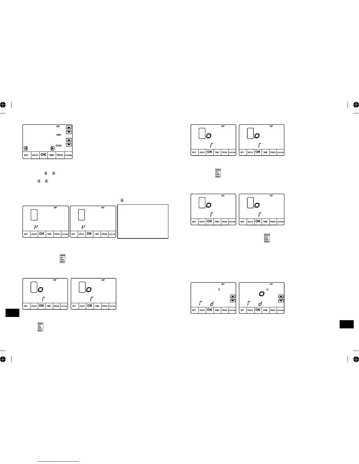
c. Heat / Cool cycle temperature differential, (SPAN-adjustment), CYCL displays at
bottom, 1 or 2 in the middle and select button at its left. Press SET three times to
enter the “CYCL” setting.
1) Press select button to select cycle temperature differential 1'C or 2'C.
2) Press SET to save setting and enter next feature setting.
3) Press OK to save setting and return to normal display.
1
2
8
2
uc
00
1 2
c cC Cl l
SPAN
The thermostat KT200TS is provided with a
SPAN. In this way, the moment of connecting
can be regulated, or the temperature with
which the thermostat turns on the heating
system. In this way the temperature will be as
constant as possible. The factory set
temperature span is 1,0°C. For example: the
thermostat set point is 20°C . The heating
system will turn on at 19,5°C an turn off at
20,5°C. The SPAN is programmablebetween
1,0° and 2,0°C.
d. Back light enable/disable, bLIT displays at bottom, oF or oN in the middle and select
button at its left.
1) Press select button to select back light oF(OFF) or oN
Press SET four times to enter the BLIT-setting (ON 5 seconds after each press
button).
f N
b bi il l
FR
EN
d. Le rétro éclairage activé/désactivé, le bouton LIT s'affiche en bas, oF ou ON au milieu
et sélectionnez le bouton correspondant sur la gauche.
1) Appuyer sur SET quatre fois pour entrer dans le réglage BLIT. (ON 5 secondes
après chaque appel de la touche).
2) Appuyez sur CONFIGURATION pour enregistrer la configuration et entrer dans la
configuration de la fonction suivante.
3) Appuyez sur OK pour enregistrer la configuration et retourner à l'affichage normal.
e. Démarrage matinal (Gestion de l'énergie) activé/désactivé, ELST s'affiche en bas, oF
ou ON au milieu et sélectionnez le bouton correspondant sur la gauche.
Appuyer sur SET cinq fois pour entrer
dans le réglage "ELST".
1) Appuyez sur le bouton pour sélectionner le démarrage matinal oF(OFF) ou oN. Cette
fonction enclenche le thermostat pour le chauffage ou la climatisation matinale pour
que le bâtiment atteigne la température programmée à l'heure définie par vous-même.
Le chauffage ou la climatisation commencera 5 minutes plus tôt pour chaque 1'F de
température requis pour atteindre le point défini.
2) Appuyez sur CONFIGURATION pour enregistrer la configuration et entrer dans la
configuration de la fonction suivante.
3) Appuyez sur OK pour enregistrer la configuration et retourner à l'affichage normal.
f N
b bi il l
f N
e es sl l
18
2 2
h li
a ap p

Related product manuals