EasyManua.ls Logo

Embraer EMB145 - Page 1063

Embraer EMB145
2662 pages
Print Icon
To Next Page IconTo Next Page
To Next Page IconTo Next Page
To Previous Page IconTo Previous Page
To Previous Page IconTo Previous Page
Loading...
LOADING
AIRPLANE
OPERATIONS
MANUAL
1-07-70
Page
2
Code
02
REVISION 38
AOM-145/1114
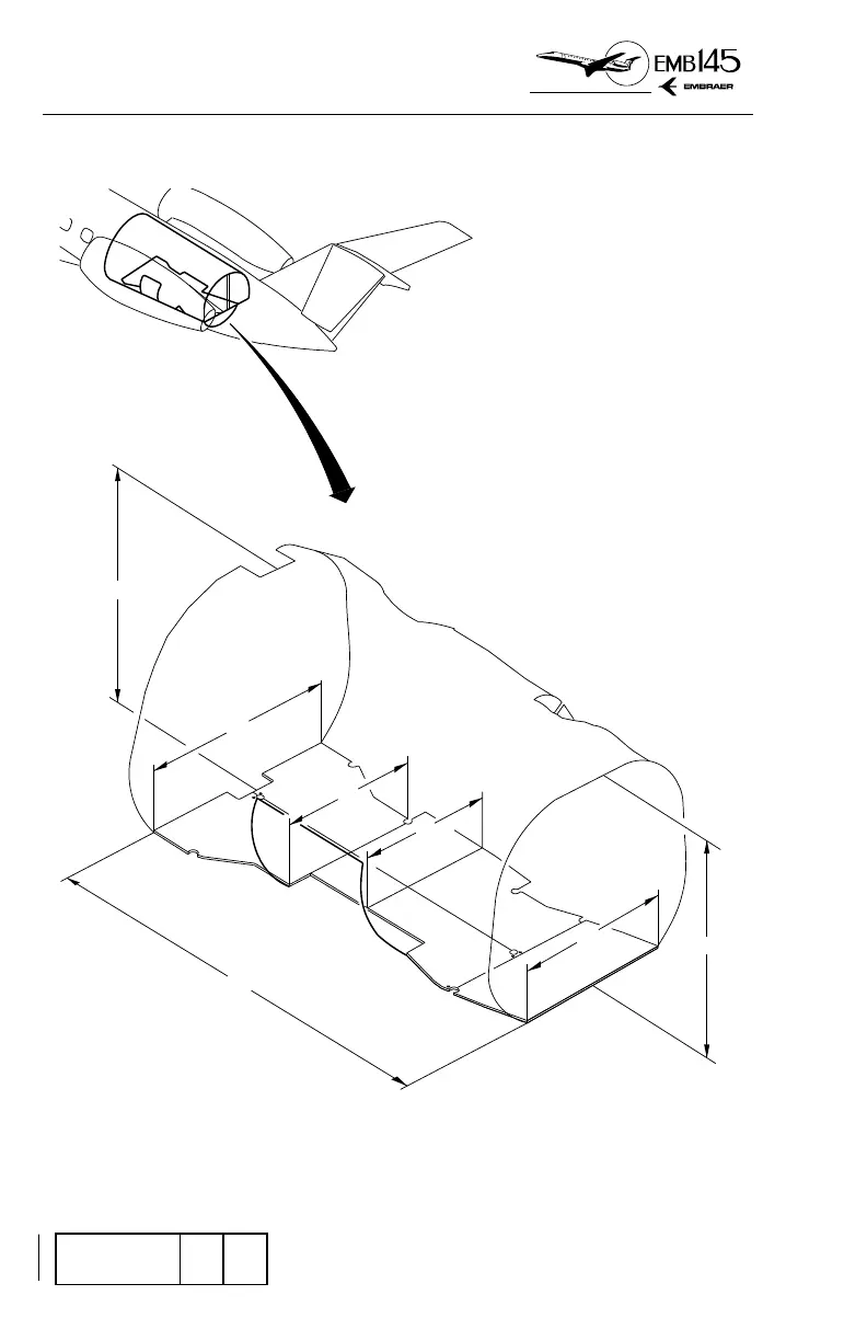
DIMENSIONS AND LIMITS
EM145AOM071017A.DGN
1.70 m
1.50 m
1.10 m
1.10 m
1.25 m
3.34 m
1.53 m

Other manuals for Embraer EMB145

Related product manuals