EasyManua.ls Logo

Emos M0420 - Page 24

Emos M0420
44 pages
Print Icon
To Next Page IconTo Next Page
To Next Page IconTo Next Page
To Previous Page IconTo Previous Page
To Previous Page IconTo Previous Page
Loading...
24
Izmjenična struja (mjerenje kliještama – oprema
po vlastitom odabiru za EM420A, B)
Raspon Razlučivost Točnost
mjerenje 200 A 0,1 mV/0,1 A ±(1,5 % + 5)
mjerenje 1000 A 1 mV/1 A ±(1,5 % + 5)
Zaštita od opterećenja: 250V DC/AC rms
Maksimalni ulazni napon: 200 mV
Frekvencijski raspon: 40 Hz do 400 Hz
Radi se o prosječnoj vrijednosti koja odgovara kalibriranom efektivnom sinusnom toku.
Otpor
Raspon Razlučivost Točnost
200 Ω 0,1  ±(1,2 % + 5)
2 kΩ 0,001 k
±(1 % + 5)20 kΩ 0,01 k
200 kΩ 0,1 k
2 M 0,001 M ±(1,2 % + 5)
20 MΩ 0,01 M  ±(1,5 % + 5)
Napon bez opterećenja: 0,25 V
Zaštita od opterećenja: 250 V DC/AC rms
Temperatura
Raspon Razlučivost Točnost
-20 °C ~ 1000 °C 1 °C
-20 °C ~ 0 °C ±(5 % + 4)
0 °C ~ 400 °C ±(1 % + 3)
400 °C ~ 1000 °C ±(2 % + 3)
0 °F ~ 1800 °F 1 °F
0 °F ~ 50 °F ±(5 % + 4)
50 °F ~ 750 °F ±(1 % + 3)
750 °F ~ 1800 °F ±(2 % + 3)
Zaštita od opterećenja: 250 V DC/AC rms
Test baterija (za model EM420A,C)
Raspon Razlučivost Funkcija
1,5 V 0,01 V
Na zaslonu se prikaže
napon baterije
3 V 0,01 V
9 V 0,01 V
Zaštita od opterećenja: raspon 1,5 V a 3 V: osigurač F 250 mA L 250V
raspon 9 V: 250V DC/AC rms
Struja opterećenja: raspon 1,5V: otprilike 50 mA
raspon 3 V: otprilike 30 mA
raspon 9 V: otprilike 12 mA
Kapacitet
Raspon Razlučivost Točnost
20 nF 0.01 nF ±(8 % + 10)
200 nF 0.1 nF
±(5 % + 5)
2 µF 0,001 µF
20 µF 0,01 µF
200 µF 0,1 µF
1000 µF 1 µF ±(8 % + 10)
Zaštita od opterećenja: raspon 200µF i 1000µF: bez osiguranja
ostali rasponi: osiguranje F 250 mA L 250V
Napon bez opterećenja: 0,5V
Zaštita od opterećenja: 250 V DC/AC rms
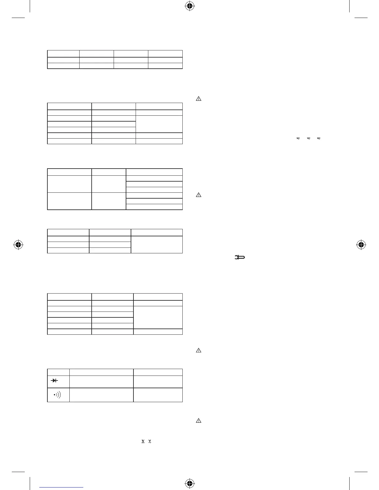
Test dioda i povezivanja krugova
Simbol Opis Napomena
Na zaslonu se prikaže približan na-
pon diode u smjeru prema naprijed
Napon bez tereta: 1,5 V
Ugrađena zujalica signalizira da je
otporu krugu manji od 30 
Napon bez tereta: 0,5 V
Zaštita od opterećenja: 250 V DC/AC rms
Za test povezanosti krugova: Kada je otpor između 30 a 100 , zujalica se može
ali ne mora čuti.
Mjerenje napona
1. Uključite žilu crnog (negativnog) mjernog vodiča s vrhom u rupicu “COM“ i kraj
crvenog (pozitivnog) za mjerenje napona u rupicu “INPUT“.
2. Kružnim prekidačem namjestite vrstu mjernog napona ili . Odaberite mjerenje
u auto rasponu (na zaslonu je prikazan natpis AUTO) ili pritiskom na tipku RANGE
u odgovarajućem rasponu očekivane vrijednosti napona.
3. Pri ručnom namještanju i nepoznate vrijednosti napona uvijek namjestite najviši
raspon.
Kada se tijekom mjerenja u ročno namještenom rasponu na zaslonu pojavi simbol
“OL, neophodno je prebaciti na viši raspon.
4. Priključite mjerne vrhove na izvor napona.
Vrijednost napona koji se mjeri prikaže se na zaslonu. Kada se radi o jednakom
naponu te je crveni mjerni vrh na polu plus, naznačuje se pozitivna vrijednost
napona. U protivnom se na zaslonu prikaže znak minus.
Kada je raspon napona mali vrijednost napona može se prikazivati nestabilno.
Mjerni vrhovi su u tom slučaju priključeni na izvor napona. To je normalna pojava
i ne utječe na mjerenje.
Nikada multimetrom ne mjerite napon koji prelazi raspon 600V DC i ili 600V AC.
Kada se raspon od 600 V prekorači, odmah prestanite mjeriti. U protivnom
slučaju: prijeti oštećenje multimetra i ozljeda električnom strujom.
Mjerenje struje
1. Uključite žilu crnog (negativnog) mjernog vodiča s vrhom u rupicu “COM“ i kraj
crvenog (pozitivnog) mjernog vrha za mjerenje struje manje od 200 mA u rupicu
“INPUT“. Kada je raspon mjerene struje u granici 200 mA do 10 A, uključite crveni
mjerni vrh u rupicu “10A“
2. Kružnim prekidačem namjestite vrstu mjerene struje u µA , mA ili A .
3. Pri ručnom namještanju i nepoznatoj vrijednosti struje uvijek namjestite najviši
raspon, koji smanjuj čak dok se ne prikaže pripadajuća vrijednost struje. Kada se
a zaslonu pojavi simbol „OL, neophodno je prebaciti na viši raspon.
4. ;Pomoću tipke FUNC odaberite mjerenje jednake ili izmjenične struje.
5. Odaberite mjerenje u auto rasponu (na zaslonu je prikazan natpis AUTO) ili priti-
skom na tipku RANGE u odgovarajućem rasponu očekivane vrijednosti napona.
6. Priključite mjerne vodiče s vrhovima u seriju na mjereni strujni krug.
Vrijednost mjerene struje prikaže se na zaslonu. Kada se radi o jednakoj struji
te je crveni mjerni vrh na polu plus, naznačuje se pozitivna vrijednost struje. U
protivnom se na zaslonu prikaže znak minus.
Nikada ne mjerite aparatom struju tamo gdje je napon bez opterećenja u
otvorenom krugu viši od 250 V. Mjerenje struje kada je napon bez opterećenja viši
može voditi do oštećenja aparata (pregorjeli osigurač, električno pražnjenje) ili do
ozljede električnom strujom!
Prije mjerenja uvijek se uvjerite da koristite ispravan raspon mjerenja!
Mjerenje struje (kliješta za mjerenje– oprema po
izboru za EM420A, B)
Za mjerenje jednake struje neophodno je koristiti kliješta za mjerenje DC, za mjerenje
izmjenične struje kliješta za mjerenje AC.
1. Uključite žilu crnog (negativnog) mjernog vodiča s vrhom u rupicu “COM“ i kraj
crvenog (pozitivnog) mjernog vrha u rupicu “INPUT“.
2. Prebacite u raspon .
3. Odaberite mjerenje jednake ili izmjenične struje tipkom FUNC.
4. Odaberite mjerenje u auto rasponu (na zaslonu je prikazan natpis AUTO) ili
pritiskom na tipku RANGE u odgovarajućem rasponu očekivane vrijednosti struje.
5. Pri ručnom namještanju i nepoznatoj vrijednosti struje uvijek namjestite najviši
raspon, koji se postepeno smanjuje sve dok se ne prikaže pripadajuća vrijednost
struje. Kada se a zaslonu pojavi simbol „OL, neophodno je prebaciti na viši raspon.
6. Mjerenje kliještama izvodite tako da mjereni vodič ukucate u sredinu kliješta. U
jednom trenutku može se mjeriti samo jedan vodič.
Vrijednost mjerene struje prikaže se na zaslonu. Kada se radi o jednakoj struji
te je crveni mjerni vrh na polu plus, naznačuje se pozitivna vrijednost struje. U
protivnom se na zaslonu prikaže znak minus.
Napomena: Izjednačenje razlike pri mjerenju osjetljivosti
a) Osjetljivost mjerenja kliještama je 0,1A/0,1mV. Kada koristite prilagođena kliješta,
onda je navedena vrijednost ista sa izmjerenom vrijednošću.
b) Kada koristite kliješta čija osjetljivost nije 0,1A/0,1mV, trebali bi se pomnožiti
vrijednošću koja je određena kliještima koja se koriste, tako da vrijednost odgovara
izmjerenoj vrijednosti.
Ne dirajte rukom ni drugim dijelom tijela mjereni krug
Mjerenje otpora
1. Uključite žilu crnog (negativnog) mjernog vodiča s vrhom u rupicu “COM“ i kraj
crvenog (pozitivnog) mjernog vrha otpora u rupicu “INPUT“.
2. Prebacite u raspon – mjerenje otpora
3. Odaberite auto ili ručno mjerenje tipkom RANGE. Kada mjerite u ručno namješte-
nom rasponu te se na zaslonu pojavi simbol “OL, neophodno je prebaciti na viši
raspon.
4. Priključite mjerne vrhove na mjereni objekt (otpor).
Vrijednost mjernog otpora prikaže se na zaslonu. Pri mjerenju otpora s vrijednošću
višom od 1 M neophodno je sačekati nekoliko sekundi da se mjerena vrijednost
stabilizira.
kada krug nije zatvoren pojavi se simbol ”OL kao pri prekoračenju raspona.
Prije mjerenja otpora uvjerite se da li je mjereni objekt isključen od napajanja i da
su svi kondenzatori sasvim prazni.
Mjerenje kapaciteta (samo model EM420B)
1. Uključite žilu crnog (negativnog) mjernog vodiča s vrhom u rupicu “COM“ i kraj
crvenog (pozitivnog) mjernog vrha za mjerenje kapaciteta u rupicu “INPUT“.
2. Kružnim prekidače odaberite raspon 1000µF, 20µF ili nF.

Related product manuals