EasyManua.ls Logo

Emos M0420 - Page 35

Emos M0420
44 pages
Print Icon
To Next Page IconTo Next Page
To Next Page IconTo Next Page
To Previous Page IconTo Previous Page
To Previous Page IconTo Previous Page
Loading...
35
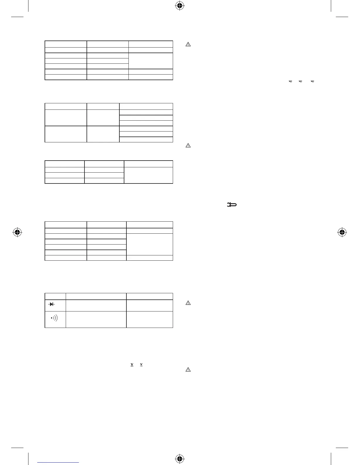
Rezistena
Interval Rezoluie Precizie
200 Ω 0,1  ±(1,2 % + 5)
2 kΩ 0,001 k
±(1 % + 5)20 kΩ 0,01 k
200 kΩ 0,1 k
2 M 0,001 M ±(1,2 % + 5)
20 MΩ 0,01 M  ±(1,5 % + 5)
Tensiune în gol: 0,25 V
Protecie la suprasarcină: 250 V DC/AC rms
Temperatura
Interval Rezoluie Precizie
-20 °C ~ 1000 °C 1 °C
-20 °C ~ 0 °C ±(5 % + 4)
0 °C ~ 400 °C ±(1 % + 3)
400 °C ~ 1000 °C ±(2 % + 3)
0 °F ~ 1800 °F 1 °F
0 °F ~ 50 °F ±(5 % + 4)
50 °F ~ 750 °F ±(1 % + 3)
750 °F ~ 1800 °F ±(2 % + 3)
Protecie la suprasarcină: 250 V DC/AC rms
Testul bateriilor (pentru modelul EM420A,C)
Interval Rezoluie Funcia
1,5 V 0,01 V
Pe ecran apare tensiunea
aproximativă a bateriei
3 V 0,01 V
9 V 0,01 V
Protecie la suprasarcină: Intervalul 1,5 V a 3 V: sigurană F 250 mA L 250V
Intervalul 9 V: 250V DC/AC rms
Curent de sarcină: Intervalul 1,5V:aproximativ 50 mA
Intervalul 3 V:aproximativ 30 mA
Intervalul 9 V:aproximativ 12 mA
Capacitatea
Interval Rezoluie Precizie
20 nF 0.01 nF ±(8 % + 10)
200 nF 0.1 nF
±(5 % + 5)
2 µF 0,001 µF
20 µF 0,01 µF
200 µF 0,1 µF
1000 µF 1 µF ±(8 % + 10)
Protecie la suprasarcină: Intervalul 200 µF a 1000 µF: fără sigurană
Celelalte intervale: sigurană: F 250 mA L 250V
Tensiune în gol: 0,5 V
Protecie la suprasarcină: 250 V DC/AC rms
Testul diodelor și continuităii circuitelor
Symbol Descrierea Notă
Pe ecran apare tensiune aproximati-
vă a diodei în sensul admis
Tensiune fără sarcină:
1,5 V
Buzzerul inclus semnalizează că
rezistena din circuit este mai mică
de 30 
Tensiune fără sarcină:
0,5 V
Protecie la suprasarcină: 250 V DC/AC rms
Pentru testul continuităii circuitelor:
Dacă rezistena este între 30 și 100, buzzerul poate să nu sune.
Măsurarea tensiunii
1. Conectai șa conductorului negru de măsurare (negativ) cu sondă în mufa “COM
iar șa conductorului roșu (pozitiv) pentru măsurarea tensiunii în mufa “INPUT“.
2. Cu selectorul circular reglai tipul tensiunii măsurate sau . Selectai măsurarea
în intervalul auto (pe ecran este așată inscripia AUTO) sau prin apăsarea butonului
RANGE în intervalul respectiv valorile de tensiune preconizate.
3. La reglarea manuală și la valoarea necunoscută a tensiunii reglai întotdeauna
intervalul maxim. Dacă la musurarea în intervalul reglat manual pe ecran apare
simbolul “OL, este necesră comutarea la interval superior.
4. Conectai sondele de măsurare la sursa de tensiune măsurată. Valoarea tensiunii
măsurate se așează pe ecran. Dacă este vorba despre tensiune continuă și
sonda de măsurare roșie este la polul plus, este indicată ca valoare de tensiune
pozitivă. În caz contrar pe ecran apare semnul minus. La interval de tensiune scăzut
valoarea tensiunii se poate așa instabil. Sondele de măsurare în acest caz nu au
fost conectate la sursa de tensiune. Este un fenomen normal și nu inuenează
măsurarea.
Cu multimetru nu măsurai nicicând tensiunea, care depășește intervalul 600V DC
sau 600V AC.
La depășirea intervalului 600 V încetai imediat măsurarea. În caz contrar
riscai deteriorarea multimetrului sau accident de electrocutare.
Măsurarea curentului
1. Conectai șa conductorului negru de măsurare (negativ) cu sondă în mufa “COM
iar șa conductorului roșu (pozitiv) a sondei de măsurare a curentului mai mic de
200 mA în mufa “INPUT“. Dacă intervalul curentului măsurat este în limita între
200 mA și 10 A, conectai șa roșie de măsurate în mufa “10A
2. Cu selectorul circular reglai intervalul curentului măsurat la µA , mA sau A .
3. La reglarea manuală și la valoarea necunoscută a curentului reglai întotdeauna
la intervalul maxim, pe care îl reducei până la așarea valorii corespunzătoare a
curentului. Dacă pe ecran apare simbolul “OL, este necesră comutarea la interval
superior.
4. Cu butonul FUNC selectai măsurarea curentului continuu sau alternativ.
5. Reglai măsurarea în intervalul auto (pe ecran este așată inscripia AUTO) sau
prin apăsarea butonului RANGE în intervalul corespunzător al valorii de curent
preconizate.
6. Conectai conductorii de măsurare cu sonde în serie cu circuitul curentului măsurat.
Valoarea curentului măsurat se așează pe ecran. Dacă este vorba despre tensiune
continuă și sonda de măsurare roșie este la polul plus, este indicată ca valoare de
curent pozitivă. În caz contrar pe ecran apare semnul minus.
Nicicând nu măsurai cu acest aparat curentul acolo, unde tensiunea în gol
în circuit deschis este mai mare de 250 V. Măsurarea curentului la tensiune în gol
mai ridicată ar putea duce la deteriorarea aparatului (arderea siguranei, descărcare
electrică) eventual la electrocutare!
Înainte de măsurare asigurai-vă că folosii intervalul de măsurare corect!
Măsurarea curentului (clește de măsurat
– accesoriu opional pentru EM420A, B)
Pentru măsurarea curentului continuu trebuie folosit clește de măsurare DC, pentru
măsurarea curentului alternativ clește AC.
1. Conectai șa conductorului de măsurare negru (negativ) în mufa “COM“ și șa
sondei de măsurare roșie (pozitivă) în mufa “INPUT.
2. Comutai în intervalul .
3. Selectai măsurarea curentului continuu sau alternativ cu butonul FUNC.
4. Reglai măsurarea în intervalul auto (pe ecran este așată inscripia AUTO) sau
prin apăsarea butonului RANGE în intervalul corespunzător al valorii de curent
preconizate.
5. La reglarea manuală și la valoarea necunoscută a curentului reglai întotdeauna
la intervalul maxim, pe care îl reducei până la așarea valorii corespunzătoare a
curentului. Dacă pe ecran apare simbolul “OL, este necesră comutarea la interval
superior.
6. Măsurarea cu clește o efectuai astfel, că după închidere conductorul măsurat să
e în mijlocul cleștelui. Într-un moment se poate măsura doar un conductor.
Valoarea curentului măsurat se așează pe ecran. Dacă este vorba despre tensiune
continuă și sonda de măsurare roșie este la polul plus, este indicată ca valoare de
curent pozitivă. În caz contrar pe ecran apare semnul minus.
Notă: Unicarea abaterii la măsurarea sensibilităii
a) Sensibilitatea măsurării cu ajutorul cleștelui este 0,1A/0,1mV. Dacă folosii clește
adaptat, atunci valoarea arătată este egală cu valoarea măsurată.
b) La folosirea cleștelui a cărui sensibilitate nu este 0,1A/0,1mV, ar trebui înmulită
valoarea stabilită prin utilizarea acestui clește, pentru ca valoarea să corespundă
cu cea măsurată.
Nu vă atingei cu mâna sau altă parte a corpului de circuitul măsurat.
Măsurarea rezistenei
1. Conectai șa conductorului de măsurare negru (negativ) în mufa “COM“ și șa
sondei de măsurare roșie (pozitivă) în mufa “INPUT.
2. Comutai în intervalul  – măsurarea rezistenei
3. Selectai măsurare auto sau manuală cu butonul RANGE. Dacă măsurai în intervalul
reglat manual și pe ecran apare simbolul “OL, este necesră comutarea la interval
superior.
4. Conectai sondele de măsurare la obiectul măsurat (rezistenă).
Valoarea rezistenei măsurate se așează pe ecran. La măsurarea rezistenei cu o
valoare mai mare de 1 M trebuie să așteptai câteva secunde, până ce valoarea
măsurată se stabilizează.
La circuit deschis apare simbolul ”OL ca la depășirea intervalului.
Înainte de măsurare vericai dacă obiectul măsurat este deconectat de la sursa
de alimentare și toate condensatoarele sunt total descărcate.
Măsurarea capacităii (doar modelul EM420B)
1. Conectai șa conductorului de măsurare negru (negativ) în mufa “COM“ și șa
sondei de măsurare roșie (pozitivă) în mufa “INPUT.
2. Cu selectorul circular reglai intervalul 1000µF, 20µF sau nF.
3. Selectai măsurarea auto sau manuală cu ajutorul butonului RANGE.
4. Conectai sondele de măsurare la obiectul măsurat (condensator). Dacă este de
ex. condensator electrolitic, la măsurare respectai polaritatea (cablul de măsurare
roșu ar trebui conectat la polul plus al condensatorului, cel negru la polul negativ).
Valoarea capacităii măsurate se așează pe ecran. La interval mic al capacităii

Related product manuals