EasyManua.ls Logo

Emos M0420 - Page 9

Emos M0420
44 pages
Print Icon
To Next Page IconTo Next Page
To Next Page IconTo Next Page
To Previous Page IconTo Previous Page
To Previous Page IconTo Previous Page
Loading...
9
V opačnom prípade môže dôjsť k situácií, kedy následne vykonané merania
budú nepresné. To môže viesť k skresleným či falošným výsledkom meraní a k
následnému úrazu elektrickým prúdom!
Kategórie CAT II je určená k meraniu obvodov nízkonapäťových zariadení. Nepo-
užívajte multimeter k meraniu rozsah spadajúcich do kategórií III a IV!
Upozornenie
Používajte multimeter EM420B iba tak, ako je špecikované nižšie. Inak môže dôjsť k
poškodeniu prístroja alebo Vášho zdravia. Dbajte nasledujúcich inštrukcií:
Skôr, ako vykonáte merania odporu, diód alebo prúdu, odpojte obvody od zdrojov
energie a vybite vysokonapäťové kondenzátory.
Pred meraním sa presvedčte, že je kruhový prepínač rozsahu meraní nastavený
v správnej polohe. V žiadnom prípade nevykonávajte žiadne zmeny v meracom
rozsahu (pootáčaním kruhového prepínača programov meraní) v priebehu meraní!
Mohlo by dôjsť k poškodeniu prístroja.
Ak budete merať prúd, skontrolujte poistku multimetra a vypnite napájanie obvodu
predtým, než k nemu multimeter pripojíte.
Popis prístroja
Multimeter EM420B je z rady kompaktných prístrojov s 3,5 číslicovým displejom, ktoré
sú určené pre meranie jednosmerného a striedavého napätia, jednosmerného prúdu,
odporu, kapacity (iba EM420B), teploty, testovanie diód, test batérií (iba EM420A) a
zvukové skúšky vodivosti a obvodov. Multimeter je vybavený pridržaním maximálnej
hodnoty a zobrazeného údaja. Indikuje prekročenie meraného rozsahu. Má funkciu
automatického vypnutia.
Multimeter poskytuje ochranu pred preťažením a informuje o nízkom stavu batérie.
Ideálne použitie multimetra EM420B je napr. v dielňach, laboratóriách a domácnostiach.
Čelný pohľad na multimeter
1 Displej – zobrazuje 3,5 číslice a maximum zobrazení je 1999
2 Prepínač meraní rozsahov – automatické nastavenie rozsahov, pokiaľ meriate
napätie, prúd, odpor a kapacitu. V režime automatického rozsahu je na displeji
nápis AUTO.
a) Pre voľbu či ukončenie manuálneho režimu rozsahov stlačte tlačítko RANGE.
Multimeter prejde do manuálneho režimu a symbol AUTO zmizne. Pri každom
ďalšom stlačení RANGE sa zvyšuje rozsah. Po dosiahnutí najvyššieho rozsahu sa
opäť vráti k najnižšiemu rozsahu.
b) Pre ukončenie manuálneho režimu stlačte tlačítko RANGE na dobu 2 sekúnd.
Multimeter sa vráti do automatického režimu a na displeji sa objaví nápis AUTO.
3 Tlačítko FUNC. – prepína meranie striedavého alebo jednosmerného prúdu, pri
meraní teploty jednotky v °C alebo °F. Tlačítkom FUNC. sa volí meranie diód alebo
vodivostný test obvodov.
4 Vypínač multimetra – stlačenie zapína alebo vypína
5 Prepínač funkcií a rozsahov –volí požadovanú funkciu a rozsah
6 Zdierka „10A – pre koncovku červeného (kladného) meracieho vodiča s hrotom
k meranie prúdu na prúdovom rozsahu 10 A AC/DC.
7 Zdierka „COM“ – pre koncovku čierneho (záporného) meracieho vodiča s hrotom.
8 Zdierka „INPUT“ – pre koncovku červeného (kladný) meracieho vodiča s hrotom
k meraniu napätia, odporu, kapacity alebo prúdu do 200 mA.
9 Tlačítko podsvietenie displeja – podržaním po dobu 2 sekúnd dôjde k
podsvieteniu. Podsvietenie automaticky zhasne po 15 sekundách alebo ho možno
vypnúť opäť podržaním tlačítka po dobu 2 sekúnd.
10 Tlačítko – po stlačení dôjde k podržaniu práve nameranej hodnoty a na
displeji sa objaví nápis . Pre ukončenie stlačte opäť tlačítko a nápis zmizne.
11 Tlačítko
– po stlačení sa bude automaticky zaznamenávať najvyššia
hodnota a na displeji bude nápis . Po opätovnom stlačení tlačítka sa
funkcia zruší a nápis zmizne.
V niektorých rozsahoch nie je funkcia záznamu najvyššej hodnoty dostupná.
Technické parametre
Displej: LCD, 1999 (3,5 číslice) s automatickou indikáciou
polarity
Metoda merania: dvojitá zostupná integrácia A/D prevodníkom
Rýchlosť čítania: 2–3× za sekundu
Pracovná teplota: 0 °C až 40 °C < 75 %
Teplota skladovania: -10 °C až 50 °C, relatívna vlhkosť < 85 %
Napájanie: 3× 1,5V AAA
Poistka: F250mA/250V, Ø 5 × 20 mm
Slabá batéria: indikácia pomocou symbolu batérie na displeji
Indikácia prekročenia rozsahu: zobrazenia čísla „OL“ na LCD
Kategórie meraní: CAT II (600 V)
Rozmery, hmotnosť: 158 × 75 × 35 mm, 200 g (priložené batérie)
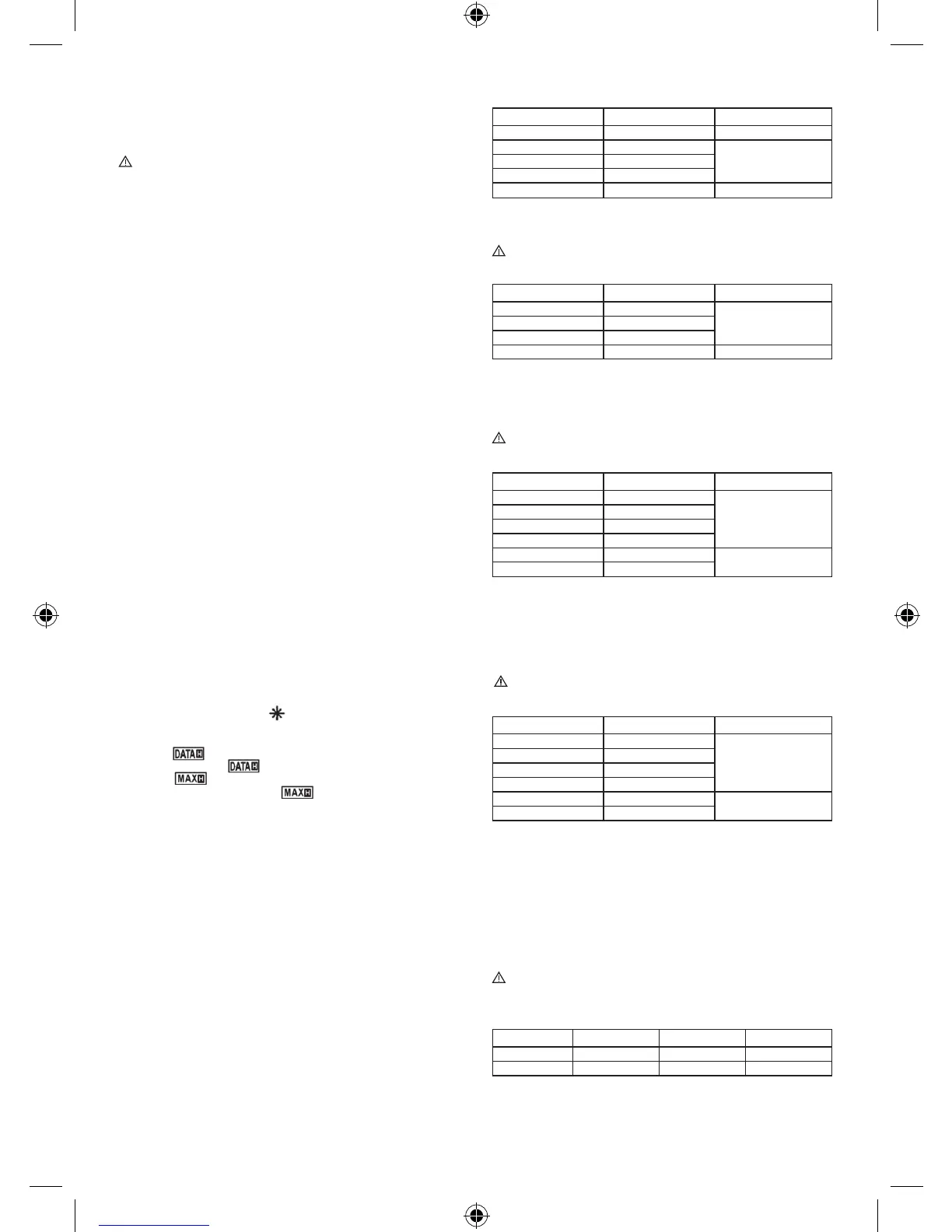
Presnosť meraní
Presnosť je daná po dobu jedného roku od kalibrácie prístroja pri 18 °C až 28 °C
pri relatívnej vlhkosti do 75 % a má tvar: ±[(% z rozsahu)+(najnižšie platné číslice)]
Jednosmerné napätie (DC)
Rozsah Rozlíšenie Presnosť
200 mV 0,1 mV ±(0,8 % + 5)
2 V 0,001 V
±(0,8 % + 5)20 V 0,01 V
200 V 0,1 V
600 V 1 V ±(1 % + 5)
Vstupná impedancia: 10 M
Ochrana proti preťaženiu: 600 V DC/AC rms
(rozsah 200 mV: 250V DC/AC rms)
Maximálne vstupné napätie: 600 V DC
Striedavé napätie (AC)
Rozsah Rozlíšenie Presnosť
2 V 0,001 V
±(1 % + 5)20 V 0,01 V
200 V 0,1 V
600 V 1 V ±(1,2 % + 5)
Vstupná impedancia: 10 M
Frekvenčný rozsah: 40 Hz až 400 Hz
Ochrana proti preťaženiu: 600 V DC/AC rms
Poznámka: Je to priemerná hodnota odpovedajúca kalibrovanému efektívnemu
sínusovému priebehu
Max. vstupné napätie: 600 V AC rms
Jednosmerný prúd (DC)
Rozsah Rozlíšenie Presnosť
200 µA 0,1 µA
±(1,2 % + 5)
2000 µA 1 µA
20 mA 0,01 mA
200 mA 0,1 mA
2 A 0,001 A
±(2 % + 10)
10 A 0,01 A
Ochrana pred preťažením: Rozsah µA a mA: poistka F 250 mA L 250 V
Rozsah 10 A neistený poistkou
Maximálny vstupný prúd: Zdierka INPUT max 200 mA; Zdierka 10 A max 10 A
(pri meranie prúdu väčšom ako 5 A; dĺžka meraní musí byť maximálne 15 sekúnd a
ďalšie meranie opakovať až po 15 minútach)
Úbytok napätia: Rozsah 200 µA, 20 mA a 2 A: 20mV
Rozsah: 2000µA, 200mA a 10A: 200mV
Maximálne napätie v rozpojenom meranom obvode musí byť ≤ 250 V.
Striedavý prúd
Rozsah Rozlíšenie Presnosť
200 µA 0,1 µA
±(1,5 % + 5)
2000 µA 1 µA
20 mA 0,01 mA
200 mA 0,1 mA
2 A 0,001 A
±(3 % + 10)
10 A 0,01 A
Ochrana pred preťažením: Rozsah µA a mA: poistka F 250 mA L 250 V
Rozsah 10A neistený poistkou
Maximálny vstupný prúd: Zdierka INPUT max 200 mA
Zdierka 10 A max 10 A
(pri meraní prúdu väčšom ako 5A; dĺžka merania musí byť maximálne 15 sekúnd a
ďalšie merania opakovať až po 15 minútach)
Úbytok napätia: Rozsah 200 µA, 20 mA a 2 A: 20 mV
Rozsah: 2000 µA, 200 mA a 10A: 200mV
Frekvenčný rozsah: 40 Hz až 400Hz
Poznámka: Je to priemerná hodnota odpovedajúca kalibrovanému efektívnemu
sínusovému priebehu
Maximálne napätie v rozpojenom meranom obvode musí byť ≤ 250 V.
Jednosmerný prúd (meranie kliešťami – voliteľné
príslušenstvo pre EM420A, B)
Rozsah Rozlíšenie Presnosť
meranie 200 A 0,1 mV/0,1 A ±(1,2 % + 5)
meranie 1000 A 1 mV/1 A ±(1,2 % + 5)
Ochrana pred preťažením: 250 V DC/AC rms
Maximálne vstupné napätie: 200 mV

Related product manuals