EasyManua.ls Logo

Emos P5614 - Page 17

Emos P5614
84 pages
Print Icon
To Next Page IconTo Next Page
To Next Page IconTo Next Page
To Previous Page IconTo Previous Page
To Previous Page IconTo Previous Page
Loading...
17
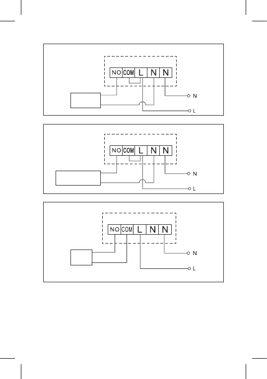
Schéma zapojenia spínacej jednotky
Schéma pripojenia čerpadla/motorizovaného ventilu
Čerpadlo/
ventil
Schéma pripojenia podlahového vykurovania
Pripojené
zariadenie
Predinštalovaná drôtová spojka nebude zapojená.
Schéma pripojenia kotla
Kotol

Related product manuals