EasyManua.ls Logo

Emos P5614 - Page 23

Emos P5614
84 pages
Print Icon
To Next Page IconTo Next Page
To Next Page IconTo Next Page
To Previous Page IconTo Previous Page
To Previous Page IconTo Previous Page
Loading...
23
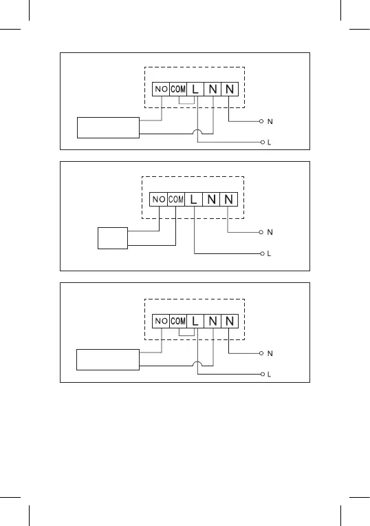
Schemat podłączenia ogrzewania podłogowego
Podłączone
urządzenie
Zainstalowana fabrycznie zworka nie będzie włączona.
Schemat podłączenia kotła
Kocioł
Schemat podłączenia zaworu rozprężnego/napędu elektrycznego
Podłączone
urządzenie
URUCHOMIENIE DO PRACY
Sparowanie jednostki sterującej z jednostką przełączającą
Przed pierwszym uruchomieniem obie jednostki termostatu trzeba
sparować.
Sparowanie umożliwia transmisję informacji między jednostką sterującą,
a przełączającą.
Przy ustawianiu wykorzystuje się automatyczne parowanie (self-le-
arning).

Related product manuals