EasyManua.ls Logo

Emos P5614 - Page 29

Emos P5614
84 pages
Print Icon
To Next Page IconTo Next Page
To Next Page IconTo Next Page
To Previous Page IconTo Previous Page
To Previous Page IconTo Previous Page
Loading...
29
Előre telepített kábelcsatoló nem csatlakoztatható.
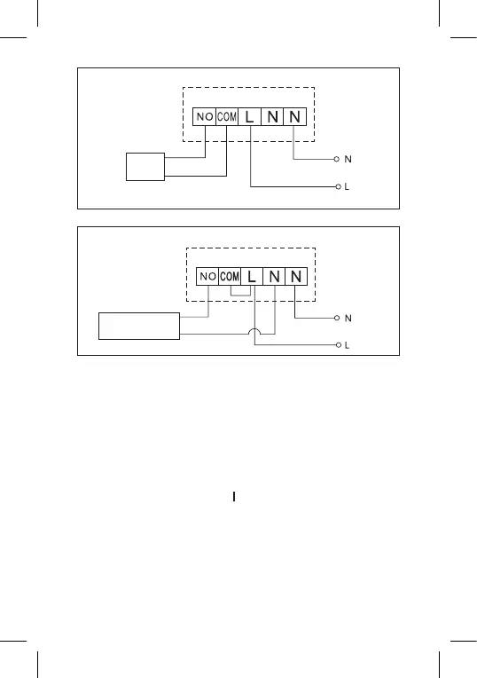
Kazán csatlakoztatási ábrája
Kazán
Expanziós szelep/Elektromos működtetőrendszer csatlakoztatási ábrája
Csatlakoztatott
készülék
A KÉSZÜLÉK ÜZEMBE HELYEZÉSE
A vezérlőegység és a kapcsolóegység párosítása
A két termosztátegységet használat előtt párosítani kell.
A párosítás hozza létre a két egység közötti kommunikációt.
A beállítást automatikus párosítással lehet elvégezni (öntanuló rendszer).
1. Vegye le a termosztát (adó) burkolatát, és tegyen 2 db 1,5 V AAA
elemet a vezérlőegységbe (ügyeljen az elemek helyes polaritására).
Kizárólag alkálielemeket használjon. Ne használjon újratölthető
elemeket.
2. Csatlakoztassa a kapcsolóegységet megfelelő módon egy áramfor-
rásra, kapcsolja a főkapcsolót állásba, és nyomja le hosszan (lega-
lább 10 másodpercig) az M/A gombot; ekkor a zöld dióda villogni kezd.
3. Nyomja le hosszan (legalább 3 másodpercig) a LEARN (tanulás)
gombot a termosztát (adó) kezelőpaneljén.
A zöld dióda nem villog tovább a kapcsolóegységen, jelezve, hogy a két
egység párosítása sikeres.
Ha a két egység párosítási kódját meg kívánja változtatni, végezze el
ismét a párosítás lépéseit a legelejéről, és a párosítási kód automati-
kusan felülíródik.

Related product manuals