EasyManua.ls Logo

Emos P5614 - Page 40

Emos P5614
84 pages
Print Icon
To Next Page IconTo Next Page
To Next Page IconTo Next Page
To Previous Page IconTo Previous Page
To Previous Page IconTo Previous Page
Loading...
40
Unaprijed instalirana žičana poveznica se ne spaja.
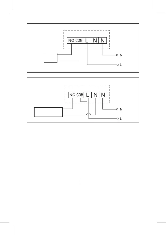
Dijagram povezivanja bojlera
Bojler
Dijagram povezivanja ekspanzijskog ventila/električnog pogona
Priključeni
uređaj
PUŠTANJE U RAD
Uparivanje kontrolne jedinice s prekidačkom jedinicom
Obje termostatske jedinice moraju se upariti prije prvog korištenja.
Uparivanje omogućuje razmjenu informacija između kontrolne i preki-
dačke jedinice.
Namještanje se obavlja putem automatskog uparivanja (način rada
automatskog učenja).
1. Skinite poklopac termostata (odašiljača) i umetnite 2× AAA baterije
od 1,5 V u kontrolnu jedinicu (pazeći na ispravan polaritet baterija).
Upotrebljavajte isključivo alkalne baterije. Ne upotrebljavajte baterije
s mogućnošću ponovnog punjenja.
2. Povežite na ispravan način prekidačku jedinicu na napajanje, glavni
prekidač postavite u položaj i pritisnite i držite pritisnut (najmanje
10 sekundi) gumb M/A; zelena LED dioda počinje treptati.
3. Držite pritisnut (najmanje 3 sekunde) gumb LEARN na upravljačkoj
ploči termostata (odašiljača).
Zelena dioda na prekidačkoj jedinici prestaje treptati i obje jedinice su
nakon toga uparene.

Related product manuals