EasyManua.ls Logo

Emos P5614 - Page 57

Emos P5614
84 pages
Print Icon
To Next Page IconTo Next Page
To Next Page IconTo Next Page
To Previous Page IconTo Previous Page
To Previous Page IconTo Previous Page
Loading...
57
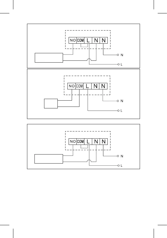
Schema de conectare a încălziri în podea
Dispozitivul
conectat
Puntea de sârmă preinstalată nu va  conectată.
Schema de conectare a cazanului
Cazan
Schema de conectare a supapei de expansiune/acționării electrice
Dispozitivul
conectat
PUNEREA ÎN FUNCȚIUNE
Asocierea unității de comandă cu unitatea de comutare
Înainte de prima utilizare este necesară asocierea ambelor unități ale
termostatului.
Asocierea permite transmisia de informații între unitatea de comandă
și cea de comutare.
Pentru reglare se folosește asocierea automată (self-learning).

Related product manuals