EasyManua.ls Logo

Emos P5614 - Page 79

Emos P5614
84 pages
Print Icon
To Next Page IconTo Next Page
To Next Page IconTo Next Page
To Previous Page IconTo Previous Page
To Previous Page IconTo Previous Page
Loading...
79
Предварително монтираният съединител за проводници няма да
бъде свързан.
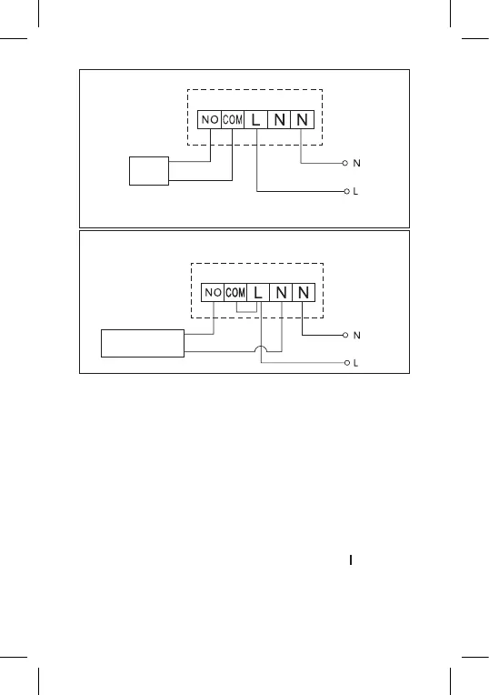
Схема на свързване на котел
Котел
Схема на свързване на разширителен шибър/електрическо
задвижване
Свързано
устройство
ВЪВЕЖДАНЕ НА УСТРОЙСТВОТО В ЕКСПЛОАТАЦИЯ
Сдвояване на управляващия и превключващия модул
Преди първоначалната употреба и двата модула на термостата трябва
да бъдат сдвоени.
Сдвояването позволява предаване на информация между управляващия
и превключващия модул.
Настройката се извършва чрез автоматизирано сдвояване (само-
обучаване).
1. Свалете капака на термостата (предавателя) и поставете 2 бр.
батерии 1,5 V тип AAA в управляващия модул (внимавайте за
правилния поляритет). Използвайте само алкални батерии. Не
използвайте презареждащи се батерии.
2. След като свържете правилно превключващия модул към захранва-
нето, завъртете главния превключвател в положение и натиснете
и задръжте (за най-малко 10 секунди) бутона M/A; зелен светодиод
ще започне да мига.
3. Натиснете и задръжте (за най-малко 3 секунди) бутона LEARN на
таблото за управление на термостата (предавателя).

Related product manuals