EasyManua.ls Logo

Emos P56201 - Page 119

Emos P56201
148 pages
Print Icon
To Next Page IconTo Next Page
To Next Page IconTo Next Page
To Previous Page IconTo Previous Page
To Previous Page IconTo Previous Page
Loading...
119
Termostata uzstādīšana
1. Noņemiet termostata aizmugurējo vāciņu (skatiet 2. att.).
2. Atzīmējiet urbumu vietas.
3. Izurbiet divus urbumus, uzmanīgi ievietojiet tajos plastmasas sienas tapas un
ar divām skrūvēm piestipriniet aizmugurējo termostata vāciņu.
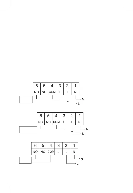
4. Pievienojiet vadus marķētajām spailēm saskaņā ar elektroinstalācijas shēmu,
kas atrodas zem vāka.
5. Pabeidziet uzstādīšanu, uzliekot termostatu uz piestiprinātā aizmugurējā
vāciņa.
Termostata novietojums
Termostata (raidītāja iekārtas) novietojums būtiski ietekmē tā darbību.
Izvēlieties vietu, kur ģimenes locekļi pavada lielāko daļu laika, vēlams iekšējās
sienas tuvumā, kur gaiss brīvi cirkulē, bez tiešas saulesgaismas.
Nenovietojiet termostatu siltuma avotu (piemēram, televizoru, radiatoru, ledus-
skapju) vai durvju tuvumā. Šo ieteikumu neievērošana traucēs pareizu telpas
temperatūras kontroli.
Elektroinstalācijas shēma:
Sūkņa/motorizētā vārsta savienojumu shēma
Sūknis/
vārsts
Grīdas apkures savienojumu shēma
Pievienotā
ierīce
Apkures katla savienojumu shēma
Apkures
katls
Iepriekš uzstādītā vadu savienotājapskava netiks pievienota.

Related product manuals