EasyManua.ls Logo

Emos P56201 - Putting the Device into Operation; Work Modes

Emos P56201
148 pages
Print Icon
To Next Page IconTo Next Page
To Next Page IconTo Next Page
To Previous Page IconTo Previous Page
To Previous Page IconTo Previous Page
Loading...
17
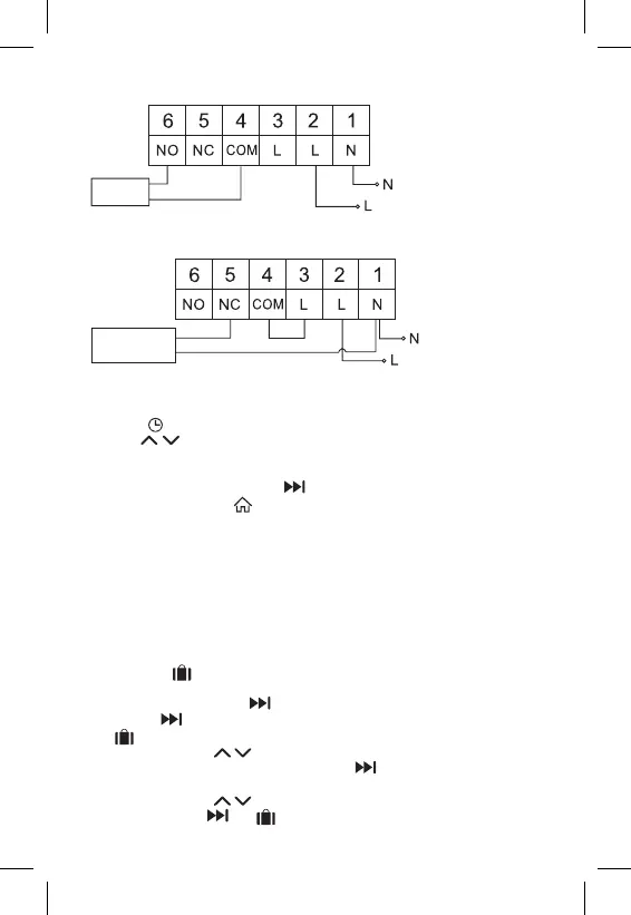
Boiler Connection Diagram
Boiler
The pre-installed wire coupler will not be connected.
Expansion Valve/Electric Drive Connection Diagram
Connected
device
PUTTING THE DEVICE INTO OPERATION
Setting the Clock, Calendar
Press the button; the values will start ashing.
Use the buttons to set the following values (holding the button down
accelerates the value change):
Day – Month – Year – Hour – Minute.
Conrm the set value by pressing .
To end setting, press the button or wait 30 seconds.
After setting is complete, the current day number will be displayed:
1 – Monday
2 – Tuesday
3 – Wednesday
4 – Thursday
5 – Friday
6 – Saturday
7 – Sunday
WORK MODES
Holiday Mode
Sets a constant temperature for an extended period of time.
Long-press (5 seconds) the button; the time value will start ashing.
Release the button and press it again for 5 seconds.
The icon will appear and the number of days will start ashing.
Repeatedly press the button to set the number of days (from 1 to 99).
Conrm the set number of days by pressing ; the temperature value will
begin ashing.
Repeatedly press the button to set the temperature.
Conrm by pressing ; the icon will appear.

Related product manuals