EasyManua.ls Logo

Emos P56201 - Page 138

Emos P56201
148 pages
Print Icon
To Next Page IconTo Next Page
To Next Page IconTo Next Page
To Previous Page IconTo Previous Page
To Previous Page IconTo Previous Page
Loading...
138
5. Завършете монтажа като поставите термостата върху монтирания заден
капак.
Поставяне на термостата
Монтирането на термостата (модула на предавателя) значително повлиява на
неговото функциониране.
Изберете място, където членовете на семейството прекарват основната част от
времето си, за предпочитане близо до вътрешна стена, без директно осветяване
от слънчева светлина и където въздухът циркулира свободно.
Не монтирайте термостата в близост до източници на топлина (напр. теле-
визори, радиатори и хладилници) или близо до врата. Нарушаването на тези
предписания води до неправилно регулиране на температурата в помещението.
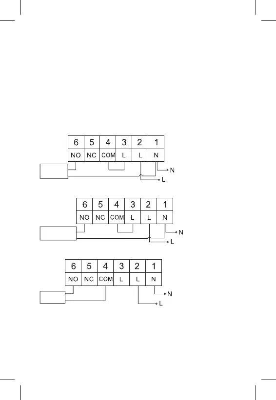
Електрическа схема на свързване:
Схема на свързване на помпата/моторизирания клапан
Помпа/
клапан
Схема на свързване на подово отопление
Свързано
устройство
Схема на свързване на котел
Котел
Предварително монтираният съединител за проводници няма да бъде
свързан.

Related product manuals