EasyManua.ls Logo

Emos P56201 - Page 26

Emos P56201
148 pages
Print Icon
To Next Page IconTo Next Page
To Next Page IconTo Next Page
To Previous Page IconTo Previous Page
To Previous Page IconTo Previous Page
Loading...
26
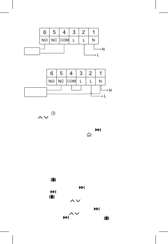
Schéma připojení kotle
Kotel
Předinstalovaná drátová spojka nebude zapojena.
Schéma připojení expanzního ventilu/elektrického pohonu
Připojené
zařízení
UVEDENÍ DO ČINNOSTI
Nastavení hodin, kalendáře
Stiskněte tlačítko , začne blikat nastavení.
Tlačítky postupně nastavte následující hodnoty (přidržením tlačítek
postupujete rychleji):
Den – Měsíc – Rok – Hodinu – Minutu.
Nastavenou hodnotu potvrdíte stiskem tlačítka .
Pro ukončení nastavení stiskněte tlačítko nebo počkejte 30 sekund.
Po ukončení nastavení se zobrazí číslo aktuálního dne:
1 – pondělí
2 – úterý
3 – středa
4 – čtvrtek
5 – pátek
6 – sobota
7 – neděle
TEPLOTNÍ REŽIMY
Režim prázdniny
Nastavení konstantní teploty na delší časové období.
Stiskněte dlouze (5 sekund) tlačítko , začne blikat hodnota času.
Uvolněte tlačítko a znovu ho stiskněte po dobu 5 sekund.
Zobrazí se ikona a bude blikat počet dnů.
Opakovaným stiskem tlačítek nastavte počet dnů (je možno nastavit 1
až 99 dní).
Nastavený počet dnů potvrďte stiskem tlačítka , začne blikat hodnota teploty.
Opakovaným stiskem tlačítek nastavte požadovanou teplotu.
Potvrďte stiskem tlačítka , bude zobrazena ikona .

Related product manuals