EasyManua.ls Logo

Emos P56201 - Page 81

Emos P56201
148 pages
Print Icon
To Next Page IconTo Next Page
To Next Page IconTo Next Page
To Previous Page IconTo Previous Page
To Previous Page IconTo Previous Page
Loading...
81
Löschen des Thermostats aus der Anwendung (siehe Abb. 10)
Klicken Sie lange auf das Thermostatsymbol, markieren Sie es mit einem Häkchen
und klicken Sie dann auf das Papierkorbsymbol. Das Thermostat wird gelöscht.
Benutzerübersicht/Passwortänderung/App-Update
Klicken Sie auf das Symbol unten rechts und dann auf das Symbol oben
rechts.
Das nächste Einstellungsmenü wird angezeigt.
INSTALLATION
Hinweis:
Trennen Sie die Heizanlage vorm Auswechseln des Thermostats von der elek-
trischen Hauptspannungsquelle in Ihrer Wohnung. Somit verhindern Sie einen
möglichen Stromunfall.
Montage des Thermostats
1. Entfernen Sie den hinteren Teil des Thermostatgehäuses (siehe Abb. 2).
2. Die Lochposition markieren.
3. Bohren Sie zwei Löcher, stecken Sie Kunststodübel vorsichtig in die
Löcher und befestigen Sie die Rückseite des Thermostatgehäuses mit zwei
Schrauben.
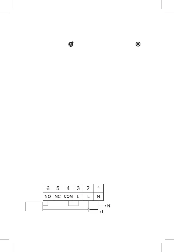
4. Schließen Sie die Drähte gemäß dem unter der Abdeckung bendlichen
Schaltplan an die markierten Klemmen an.
5. Die Installation durch Einsetzen des Thermostats in die angebrachte Gehäu-
serückseite fertigstellen.
Thermostat-Standort
Der Standort des Thermostats (der Sendeeinheit) ist von großer Bedeutung für
die Funktion des Thermostats.
Wählen Sie einen Ort, wo sich die Familienmitglieder am häugsten aufhalten
– am besten an der Innenwand, wo die Luft frei zirkuliert und wo keine direkte
Sonneneinstrahlung vorhanden ist.
Positionieren Sie den Thermostat nicht in der Nähe von Wärmequellen (von
Fernsehgeräten, Radiatoren, Kühlschränken) oder in der Nähe von Türen. Wenn
Sie diese Empfehlungen nicht beachten, ist eine korrekte Aufrechterhaltung der
Raumtemperatur nicht möglich.
Schaltbild:
Anschlussschema für die Pumpe/das motorisierte Ventil
Pumpe/
Ventil

Related product manuals