EasyManua.ls Logo

Enerpac P-39 - Page 21

Enerpac P-39
72 pages
Print Icon
To Next Page IconTo Next Page
To Next Page IconTo Next Page
To Previous Page IconTo Previous Page
To Previous Page IconTo Previous Page
Loading...
6.1 Pump With Single-Acting Cylinder (A)
Pumpe mit einfachwirkendem Zylinder (A):
1. Pumpentank entlüften (nur bei entlüfteten
Pumpen) und Ablassventil schließen.
2. Die Pumpe in einer höheren Lage als den Zylinder
positionieren.
3. Den Zylinder so aufstellen, daß das Kolbenende
nach unten zeigt (nach oben bei Zugzylinder).
Siehe Abbildung 9.
4. Pumpe betätigen, um den Zylinder voll
auszufahren (Zugzylinder voll einfahren).
5. Druckentlastungsventil öffnen, um den Zylinder
einzufahren (Zugzylinder ausfahren). Dadurch
wird die eingeschlossene Luft nach oben in den
Pumpentank gepreßt.
6. Die obigen Schritte so oft wie nötig wiederholen.
7. Wenn erforderlich, Öl auffüllen. Siehe Seite 21.
8. Den Entlüftungs-/Einfülldeckel wieder in die
Betriebsstellung bringen.
6.2 Pumpe mit doppeltwirkendem Zylinder
(B)
1. Pumpentank entlüften (nur bei entlüfteten
Pumpen).
2. Die Pumpe in einer höheren Lage als den Zylinder
positionieren.
3. Den Zylinder in die waagerechte Stellung bringen,
wobei die Anschlüsse nach oben gerichtet sind.
Siehe Abbildung 9.
4. Den Zylinder zwei- bis dreimal voll aus- und
einfahren.
5. Die obigen Schritte so oft wie nötig wiederholen.
6. Wenn erforderlich, Öl auffüllen. Siehe diese Seite 21.
7. Den Entlüftungs-/Einfülldeckel wieder in die
Betriebsstellung bringen.
7.0 MAINTENANCE
Benutzen Sie für diese Pumpen nur Enerpac-
Hydrauliköl, um eine lange Lebensdauer der Pumpen
zu erreichen und den Garantieschutz aufrecht zu
erhalten. Viton- und EPR-Dichtungssätze sind für
einige Pumpen erhältlich. Wenden Sie sich an die
zuständige Enerpac Vertriebsstelle, um Informationen
über diese Produkte und ihre Anwendung zu
erhalten.
7.1 Auffüllen der Pumpe mit Öl
Prüfen Sie den Ölstand regelmäßig.
ACHTUNG: Füllen Sie nur dann Öl auf,
wenn die Zylinder voll eingefahren (bzw.
bei Zugzylindern ausgefahren) sind,
andernfalls enthält das System mehr Öl,
als der Tank aufnehmen kann.
1. Entfernen Sie den Entlüftungs-/Einfülldeckel vom
Tank.
2. Füllen Sie den Tank nur bis zur Füllmarkierung an
der Pumpe.
3. Wenn erforderlich, entfernen Sie die Luft aus dem
System. Siehe Seite 20. Prüfen Sie den Ölstand
nach dem Entlüften nochmals.
4. Bringen Sie den Entlüftungs-/Einfülldeckel wieder
in der vorschriftsmäßigen Stellung an.
HINWEIS: Nicht entlüftete Handpumpen benötigen
Luft im Tank, um ordnungsgemäß zu funktionieren. Ist
der Tank vollständig gefüllt, so bildet sich ein
Vakuum, das verhindert, daß Öl aus der Pumpe
abfließen kann.
7.2 Reinhalten der Ölleitungen
Werden die Kupplungsteile getrennt, so müssen stets
Staubkappen aufgeschraubt werden. Führen Sie alle
erforderlichen Vorsichtsmaßnahmen aus, um das
Eindringen von Verunreinigungen in die Pumpe zu
verhindern, da Fremdkörper zum Versagen der
Pumpe, des Zylinders oder des Ventils führen
können.
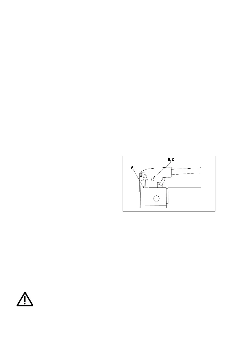
7.3 Schmierung der Pumpe
Um die Lebensdauer der Pumpe zu verlängern und
die Leistung zu erhöhen, schmieren Sie den
Tragbolzen (A), den Querbolzen (B) und den
Zylinderkopf (C) regelmäßig mit Rollenlager-
Schmierfett. Siehe Abbildung 10.
.
Abbildung 9
7.4 Ölwechsel
1. Lassen Sie alle 12 Monate das gesamte Öl ab und
füllen die Pumpe mit reinem Enerpac-Öl auf.
Führen Sie den Ölwechsel öfter aus, wenn die
Pumpe in schmutziger Umgebung eingesetzt wird.
2. Nehmen Sie den Entlüftungs-/Einfülldeckel vom
Tank ab.
3. Kippen Sie die Pumpe, um das Altöl abzulassen.
4. Füllen Sie den Tank nur bis zur Füllmarkierung an
der Pumpe.
5 Entlüftungs-/Einfülldeckel bzw. -stopfen wieder
anbringen.
6. Das Altöl ist vorschriftsmäßig zu entsorgen.
8.0 ANLEITUNG ZUR FEHLERSUCHE
Die folgende Information soll helfen, um feststellen zu
können, ob eine Fehlfunktion vorliegt. (Seite 22) Für
die Durchführung von Reparaturarbeiten wenden Sie
sich an das autorisierte ENERPAC Service-Center in
Ihrem Gebiet.
21

Related product manuals