EasyManua.ls Logo

Enerpac ZU4 - Page 18

Enerpac ZU4
32 pages
Print Icon
To Next Page IconTo Next Page
To Next Page IconTo Next Page
To Previous Page IconTo Previous Page
To Previous Page IconTo Previous Page
Loading...
18
8. Parar el motor pulsando la tecla on/o del control remoto o
la tecla on/o (Motor) de la funda). Si no se pulsan teclas del
control remoto o de la funda durante un periodo continuo de
20 segundos, el temporizador integrado en la bomba parará
automáticamente el motor.
Nota: Cuando se para el motor, según el motor deja de girar, la
válvula realiza automáticamente un ciclado para descargar toda la
presión de las mangueras de avance y retroceso.
Nota: Bombas equipadas con intercambiadores de calor:
Siempre que sea posible, permitir que el temporizador pare
automáticamente la bomba. El retraso de 20 segundos brindará
tiempo adicional para que el aceite circule por el intercambiador
de calor, resultando en mejor enfriamiento del aceite.
5.1 Operación con el control remoto
Tanto el flujo de aceite como el funcionamiento del motor se
controlan mediante el control remoto.
Véase la Figura 6.
1. Tecla de avance del control remoto:
Pulsar para avance momentáneo de la llave
(Automode OFF).
Pulsar y mantener pulsado para ciclado automático de la
llave entre avance y retroceso (Automode ON).
Liberar para retraer automáticamente la llave (Automode
ON u OFF).
2. Tecla on/o del control remoto: Pone en marcha o para
el motor.
Notas:
Si el motor está funcionando,
al pulsar la tecla on/o del
motor en la funda el motor
parará inmediatamente,
incluso cuando la bomba se
hace funcionar mediante el
control remoto.
Si el motor está parado, al
pulsar la tecla on/o
Véanse las secciones 6.3 y 6.5M
para información adicional.
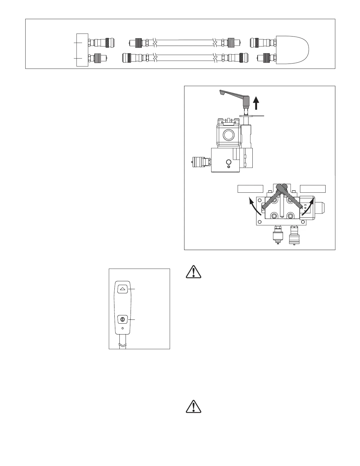
5.2 Válvula de alivio ajustable por el usuario
La bomba ofrece dos métodos de limitación de la presión
(puerto A) de avance a la llave:
a) Automode (Véase la Sección 5.3)
b) La válvula de alivio ajustable por el usuario
(Véanse los párrafos que siguen en esta sección)
La válvula de alivio ajustable por el usuario limita la presión
de avance máxima mediante la apertura de la válvula de alivio
para redirigir el flujo de aceite de la bomba al tanque cuando se
alcanza el valor de la presión ajustada por el usuario.
Aumentar
Contratuerca de fijación
Tirar para
desacoplar.
Disminuir
Figura 7, Válvula de alivio ajustable por el usuario
ADVERTENCIA: Hacer los siguientes ajustes ANTES
de poner la llave dinamométrica en la tuerca o la cabeza
del perno. El ajuste de la válvula de alivio de la bomba
no debe exceder la presión necesaria para proporcionar el par
requerido por su aplicación. Exceder el par requerido puede
averiar el equipo y ocasionar lesiones personales serias.
Ajustar la presión de la válvula de alivio como se describe en el
siguiente procedimiento. Véase la Figura 7.
1. Aflojar la contratuerca de fijación de la válvula de alivio.
2. Girar la maneta de la válvula de alivio en sentido antihorario
según se requiera, hasta que la resistencia al girar sea mínima
o ninguna. Cuando esto ocurre, la válvula está en su ajuste
más bajo.
Nota: La maneta de la válvula de alivio sólo girará aproximadamente
dos tercios de una vuelta completa. Cuando el giro pare, tirar de
la maneta para desacoplar. Luego, volver a colocar y reacoplar la
maneta para permitir ajuste adicional (según se requiera).
3. Desconectar las mangueras hidráulicas de los acopladores
en la válvula.
ADVERTENCIA: Antes de poner a funcionar la bomba,
asegurarse de que todos los acopladores tienen las
tapas protectoras completamente instaladas.
4. Conectar la alimentación eléctrica de la bomba. Usando la
pantalla LCD y el teclado, verificar que Automode esté en
OFF o que el valor “ALTAPRESS” está ajustado como mínimo
700 BAR/10,000 PSI MAX.
700 BAR/10,000 PSI MAX.
B
A
Figura 5, Detalles de la manguera
Retroceso
Avance
Válvula de la bomba
Llave dinamométrica
Fig. 6, Teclas del control remoto
1. AVANCE
2. ON/OFF

Related product manuals