EasyManua.ls Logo

ErGear EGCM1 - Monitor Stand Features; VESA Plate Height Adjustment

ErGear EGCM1
9 pages
Print Icon
To Next Page IconTo Next Page
To Next Page IconTo Next Page
To Previous Page IconTo Previous Page
To Previous Page IconTo Previous Page
Loading...
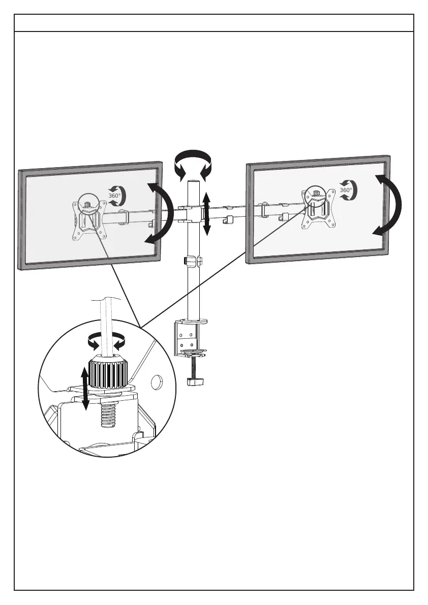
Features
180°
Tilt
Individual VESA plate height adjustment
helps monitors to be perfectly aligned.
Tilt
360°
360°
07

Related product manuals